EasyManua.ls Logo

Precision Power PC2100 - Installation Guide; Fuse Requirements

Precision Power PC2100
19 pages
Print Icon
To Next Page IconTo Next Page
To Next Page IconTo Next Page
To Previous Page IconTo Previous Page
To Previous Page IconTo Previous Page
Loading...
2
Tools/Parts needed for Installation (not supplied)
Small flat blade screwdriver
Phillips Screwdriver (#2 or medium sized)
Wire cutters
Wire strippers
4 - #6 round head screws, and 1 - #8 sheet metal screw
(or nut, bolt, and star washer)
2 - Ring connectors (large enough to accommodate your
method of grounding)
In-line fuse or circuit breaker - see fuse chart below
Power and ground wire - see Power Wire Calculator on page 3
Speaker wire - 16 gauge or larger
Grommets (sized to work with the power wire you plan to use
in your installation)
Tube of silicone sealant
INSTALLATION
You will need to install an in-line fuse or circuit breaker in
the power wire within 18" of the battery. This fuse or circuit
breaker is to protect your vehicle from fire in case the power
wire shorts to the vehicle body. If you are only using one
amplifier, use the fuse rating indicated in this chart. If you are
using more than one amplifier, add up the fuse ratings for all the
amplifiers. This sum is the rating for your fuse or circuit breaker.
You may also want to add a power distribution block near your
amplifiers to keep the wiring tidy.
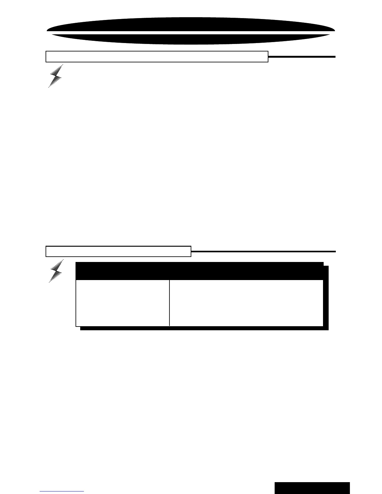
Fuse requirements
Amplifier Maximum Fuse Rating
PC2100
20 Amp
PC2200
30 Amp
PC2300
35 Amp
BACK TO CONTENTS

Related product manuals