EasyManua.ls Logo

Pro-Form 690 Lt Treadmill - Page 31

Pro-Form 690 Lt Treadmill
32 pages
Print Icon
To Next Page IconTo Next Page
To Next Page IconTo Next Page
To Previous Page IconTo Previous Page
To Previous Page IconTo Previous Page
Loading...
93
12
92
15
106
103
95
12
12
12
36
36
91
99
99
11
11
96
94
94
11
101
104
12
12
102
12
98
97
35
5
5
5
26
105
100
12
32
32
13
13
13
12
12
12
12
13
13
35
109
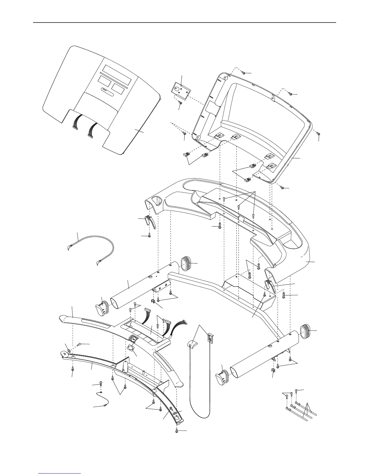
EXPLODED DRAWING D—Model No. PFTL06009.0 R0709A
31

Related product manuals