EasyManua.ls Logo

Pro-Form PERFORMANCE 600i - Page 37

Pro-Form PERFORMANCE 600i
40 pages
Print Icon
To Next Page IconTo Next Page
To Next Page IconTo Next Page
To Previous Page IconTo Previous Page
To Previous Page IconTo Previous Page
Loading...
37
36
36
61
20
36
32
60
59
62
58
11
11
11
11
11
35
11
35
57
11
35
11
11
11
11
11
11
69
11
68
11
11
11
65
62
66
67
27
36
64
21
63
59
60
32
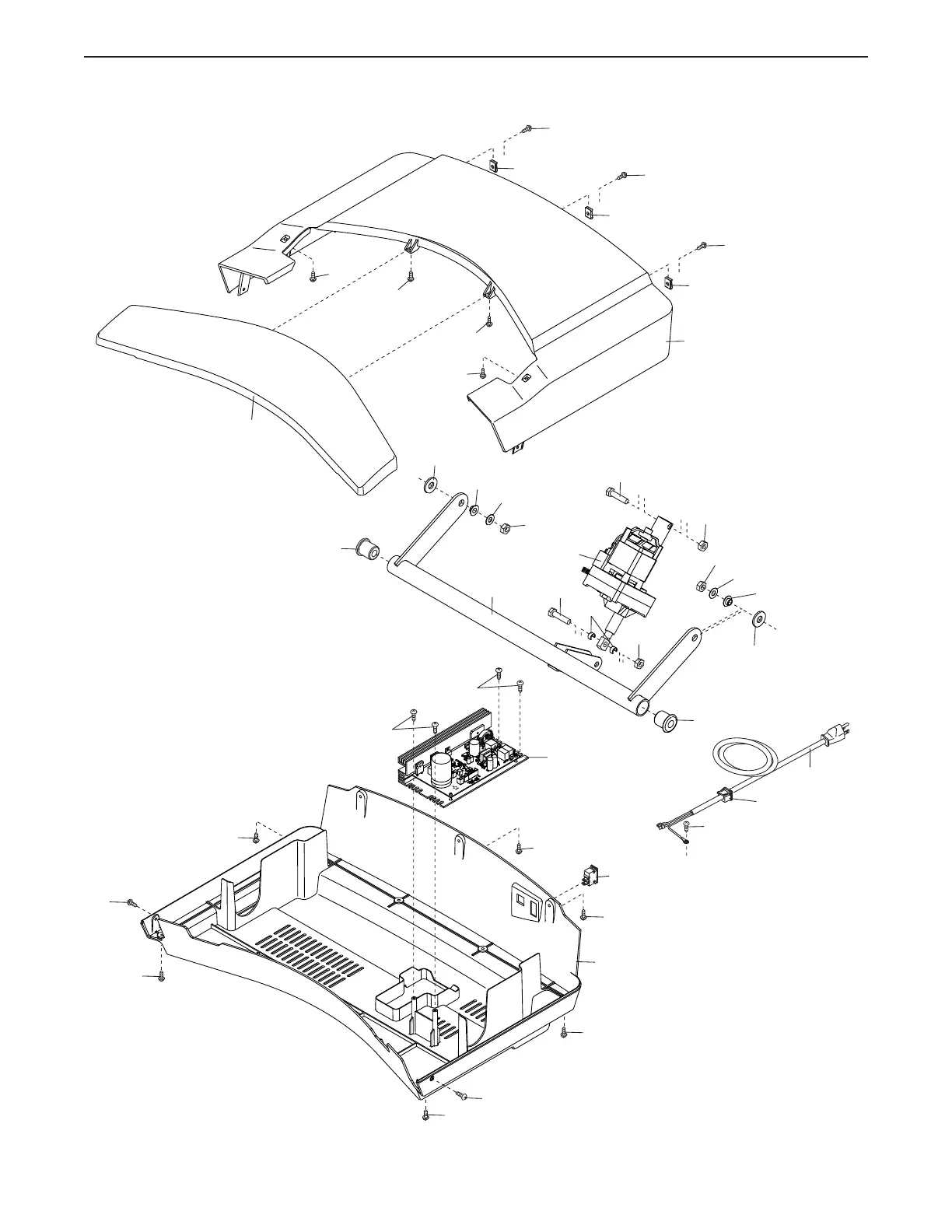
EXPLODED DRAWING B
Model No. PFTL79518.0 R1018A

Related product manuals