EasyManua.ls Logo

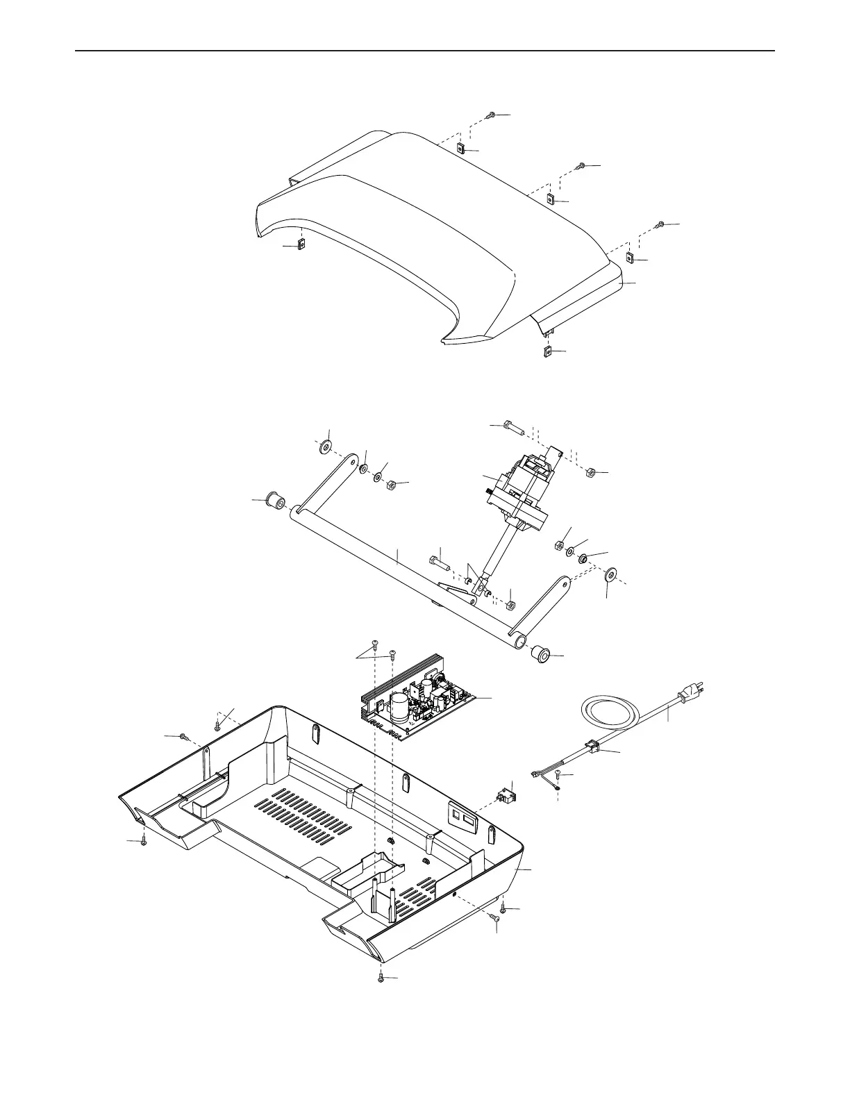
Pro-Form TRAINER 6.5 - Exploded Drawing B; Exploded View of Console and Hood Components

Pro-Form TRAINER 6.5
40 pages
Print Icon
To Next Page IconTo Next Page
To Next Page IconTo Next Page
To Previous Page IconTo Previous Page
To Previous Page IconTo Previous Page
Loading...
37
65
72
78
2
2
2
2
2
2
2
67
67
33
29
69
70
16
71
33
33
52
52
101
101
33
71
32
75
10
76
103
2
68
2
68
68
68
2
68
EXPLODED DRAWING B
Model No. PFTL60918.0 R0718A

Related product manuals