EasyManua.ls Logo

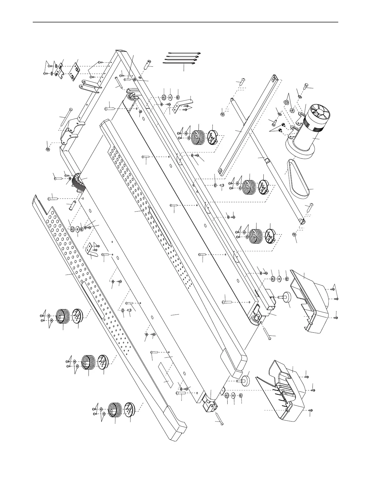
Pro-Form TRAINER 6.5 - Exploded Drawing A; Exploded View of Base Components

Pro-Form TRAINER 6.5
40 pages
Print Icon
To Next Page IconTo Next Page
To Next Page IconTo Next Page
To Previous Page IconTo Previous Page
To Previous Page IconTo Previous Page
Loading...
36
60
23
15
15
42
23
10
49
56
34
30
59
23
21
45
48
61
30
34
59
23
43
44
21
50
46
19
19
46
34
30
59
34
30
59
37
107
107
107
40
40
10
37
37
37
37
35
15
10
55
4
34
3
41
53
34
6
4
11
11
51
50
51
37
107
37
107
107
37
107
107
74
39
74
39
102
102
102
102
74
39
102
102
74
39
106
66
106
66
106
66
106
66
74
39
106
66
74
39
106
66
57
14
14
14
14
14
47
73
10
84
24
117
116
54
20
118
119
120
119
118
121
EXPLODED DRAWING A
Model No. PFTL60918.0 R0718A

Related product manuals