EasyManua.ls Logo

ProForm 570 V Treadmill - iFIT Program Usage and VCR Connection; Connecting a VCR for iFIT; Running iFIT MP3, CD, or Video Programs

ProForm 570 V Treadmill
36 pages
Print Icon
To Next Page IconTo Next Page
To Next Page IconTo Next Page
To Previous Page IconTo Previous Page
To Previous Page IconTo Previous Page
Loading...
20
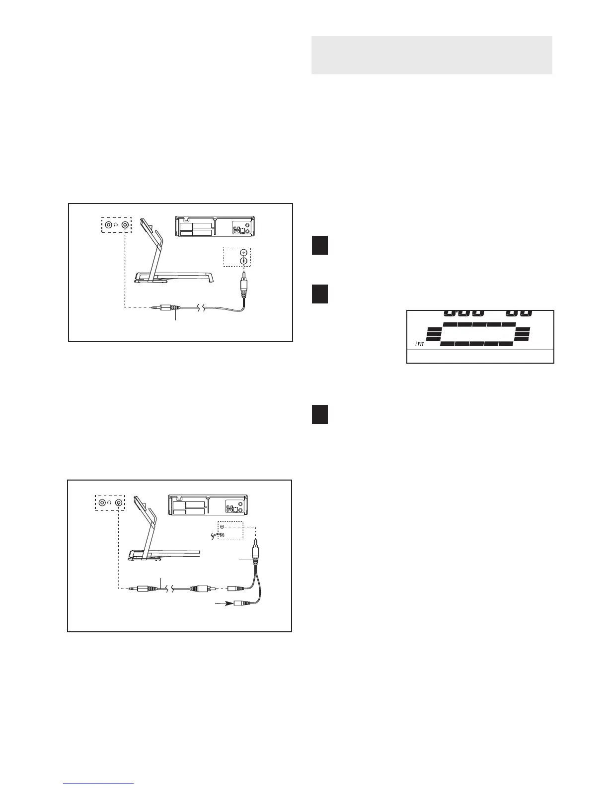
HOW TO CONNECT YOUR VCR
N
ote: If your VCR has an unused AUDIO OUT jack,
see instruction A below. If the AUDIO OUT jack is
b
eing used, see instruction B. If you have a TV
with a built-in VCR, see instruction B. If your VCR
is connected to your home stereo, see HOW TO
CONNECT YOUR HOME STEREO on page 19.
A. Plug one end of a long 3.5 mm to RCA stereo audio
cable (available at electronics stores) into the input
jack on the console. Plug the other end of the cable
into the AUDIO OUT jack on your VCR.
B. Plug one end of a long 3.5 mm to RCA stereo audio
cable (available at electronics stores) into the input
jack on the console. Plug the other end of the cable
into an RCA Y-adapter (available at electronics
stores). Next, remove the wire that is currently
plugged into the AUDIO OUT jack on your VCR and
plug the wire into the unused side of the Y-adapter.
Plug the Y-adapter into the AUDIO OUT jack on
your VCR.
HOW TO USE AN IFIT.COM MP3, CD, OR VIDEO
PROGRAM
To use an iFIT.com MP3, CD, or video program, the
t
readmill must be connected to your MP3 player, CD
p
layer, or VCR. See HOW TO CONNECT THE
TREADMILL TO USE IFIT.COM PROGRAMS on
pages 18 to 20. To download iFIT.com MP3 pro-
grams, go to www.iFIT.com. To purchase iFIT.com
CDs or videocassettes, call the telephone number
on the front cover of this manual.
Follow the steps below to use an iFIT.com MP3, CD,
or video program.
Insert the key into the console.
See HOW TO TURN ON THE POWER on page 12.
Select the iFIT.com mode.
To select the
iFIT.com
mode, press
the iFIT
button. The
letters “iFIT”
will appear in the display.
Press the Play button on your MP3 player, CD
player, or VCR.
Note: If you are using an iFIT.com CD, insert the
CD into your CD player; if you are using an
iFIT.com videocassette, insert the videocassette
into your VCR.
A moment after the Play button is pressed, your per-
sonal trainer will begin guiding you through your
workout. Simply follow your personal trainer’s
instructions. Note: If the time is flashing in the dis-
play, press the Start button or the Speed + button
on the console. The treadmill will not respond to an
MP3, CD, or video program while the time is flash-
ing in the display.
During the program, an electronic “chirping” sound will
alert you when the speed and/or incline of the tread-
mill is about to change. CAUTION: Always listen
for the “chirp” and be prepared for speed and/or
incline changes. In some instances, the speed
and/or incline may change before your personal
trainer describes the change.
3
2
1
B
VIDEO AUDIO
A
NT. IN
RF OUT
IN
OUT
CH
34
A
AUDIO OUT
RIGHT
LEFT
VIDEO AUDIO
ANT. IN
R
F OUT
IN
OUT
CH
34
Audio Cable
A
B
VIDEO AUDIO
ANT. IN
RF OUT
IN
OUT
CH
34
A
AUDIO OUT
RIGHT
LEFT
VIDEO AUDIO
ANT. IN
RF OUT
IN
OUT
CH
34
B
Wire removed from
AUDIO OUT jack
RCA
Y-adapter
Audio Cable

Related product manuals