EasyManua.ls Logo

ProForm 750CS - Page 25

ProForm 750CS
26 pages
Print Icon
To Next Page IconTo Next Page
To Next Page IconTo Next Page
To Previous Page IconTo Previous Page
To Previous Page IconTo Previous Page
Loading...
108
107
109
87
77
76
76
46
46
116
50
117
117
76
20
86
15
86
15
Kirk Niebergall
PRODUCT LIT. GROUP
102
103
30
97
101
96
97
101
83
83
82
101
16
101
94
101
127
99
69
72
105
16
34
23
80
73
20
110
108
107
85
76
46
46
90
76
10**
79
79
118**
101
120
101
120
95
103
95
114*
114*
104
104
97
101
97
101
113
113
9
78
48
85
76
76
111
76
76
84
6**
69**
56
120
121
13
89
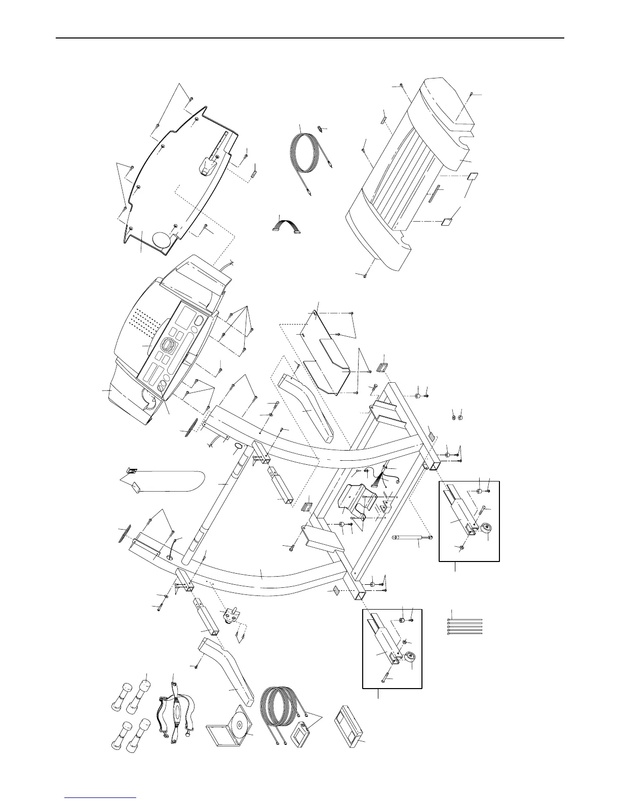
EXPLODED DRAWING—Model No. 831.299561 R0701A

Related product manuals