EasyManua.ls Logo

ProMinent Beta BT5a - Liquid End 0232 - NP with Coarse;Fine Bleed

ProMinent Beta BT5a
54 pages
Print Icon
To Next Page IconTo Next Page
To Next Page IconTo Next Page
To Previous Page IconTo Previous Page
To Previous Page IconTo Previous Page
Loading...
ProMinent
®
Page 35
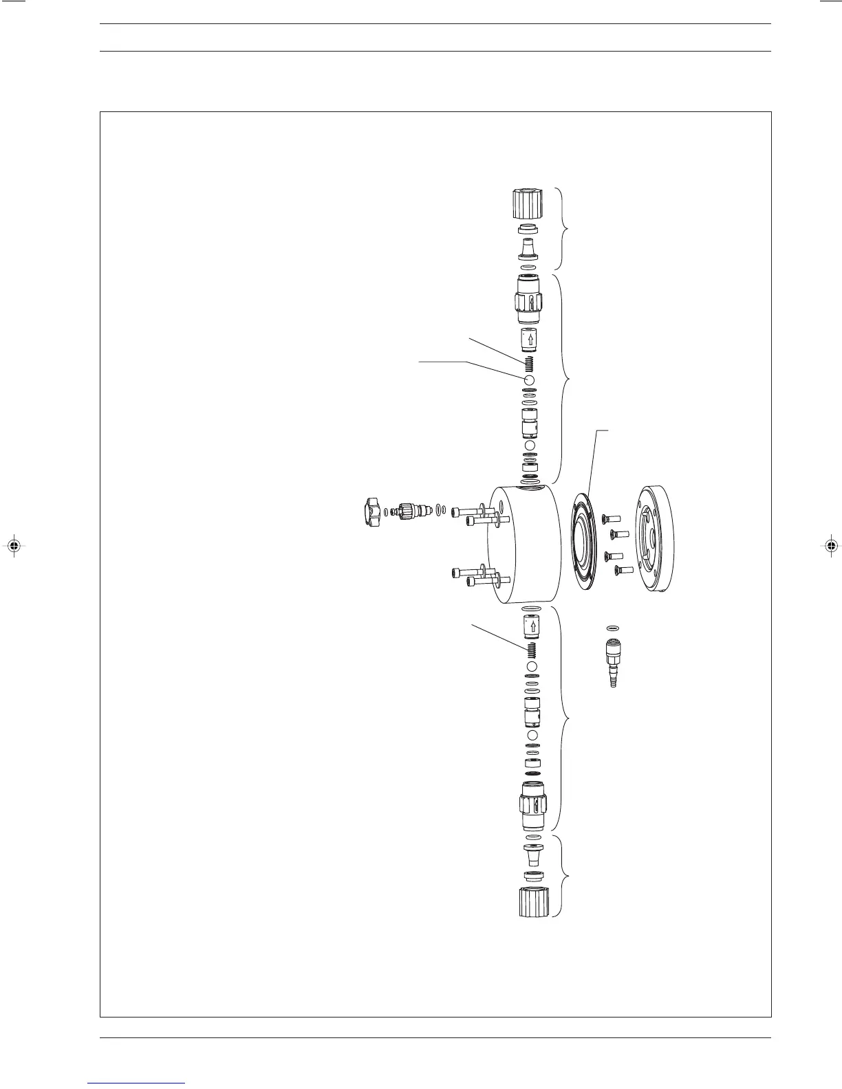
Exploded diagrams of liquid ends
Liquid end 0232
NP with coarse/fine bleed
*
*
60_07-104_00_34-04_2
Connector kit 12/9 PCE 817049
Connector kit 12/9 PCB 817051
Discharge valve set PCE 1001439
Discharge valve set PCB 1001438
Diaphragm 0232 1000251
Suction valve set PCE 1001435
Suction valve set PCB 1001434
Connector kit
Spare parts kits for:
Type Material Order No.
0232 NPE 1001719
0232 NPB 1001728
The listed items are included in the spare parts kit.
* Customer accessories
Subject to technical alterations.
4 valve balls 404281
1 seal set EPDM 1001776
1 seal set FPM 1001774
BA_BE_021_07_08_GB2.p65 17.07.2008, 14:35 Uhr35

Table of Contents

Related product manuals