EasyManua.ls Logo

QSC CX404 - Page 32

QSC CX404
63 pages
To Next Page IconTo Next Page
To Next Page IconTo Next Page
To Previous Page IconTo Previous Page
To Previous Page IconTo Previous Page
Loading...
FR
32
Connexion 70 V stéréo ou
parallèle - Chaque zone 70
V se connecte à son canal
respectif. S’assurer que
tous les branchements de
haut-parleurs maintien-
nent la polarité correcte.
Connexion 140 V en mode
Pont - Câbler chaque paire
pontée à un circuit 140 V,
comme illustré. S’assurer
de la polarité correcte.
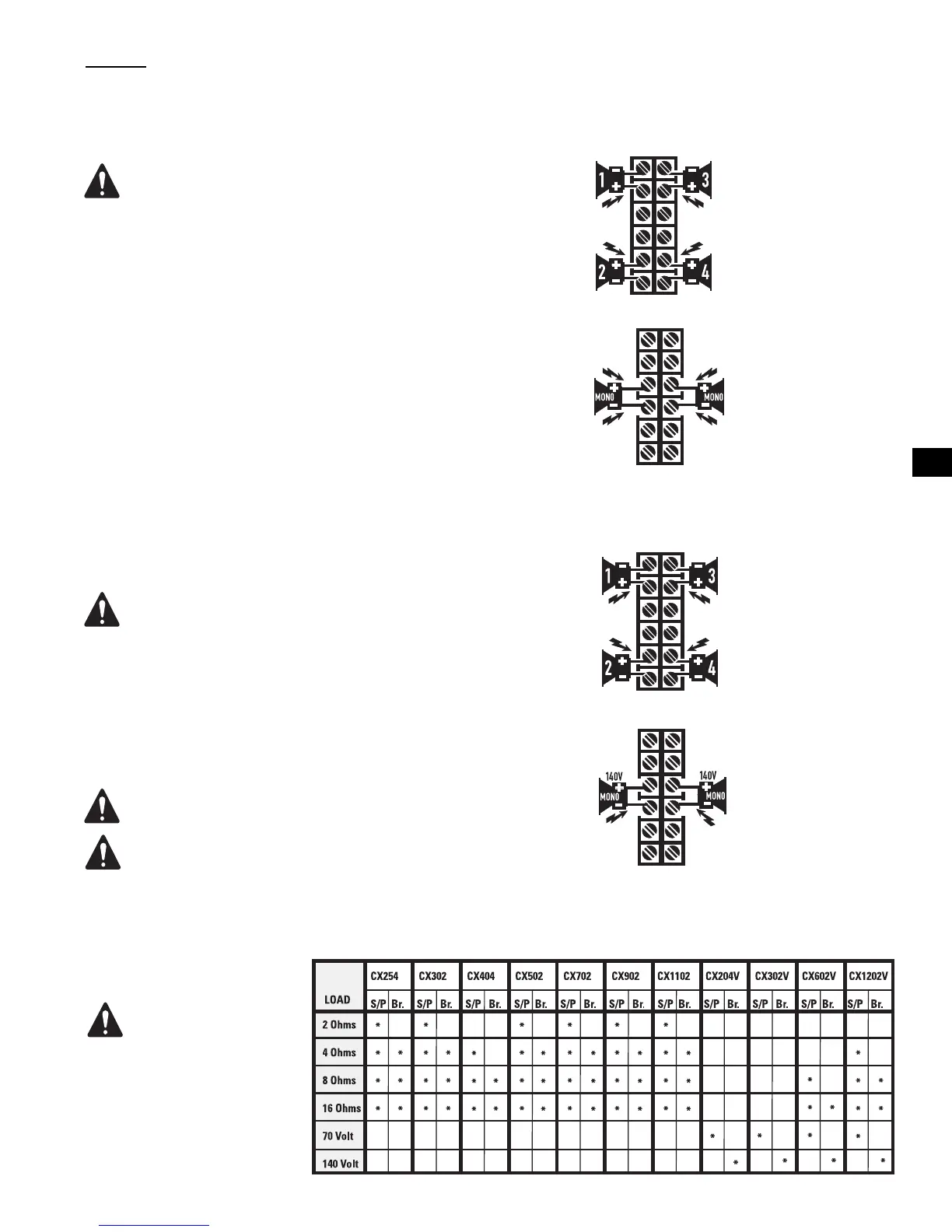
Sorties
Les connexions des câbles sont illustrées à l’arrière du châssis. Tenir compte des
repères de polarité qui facilitent les connexions en mode Pont. Les modèles à 4
canaux sont montrés dans les exemples ; les modèles à 4 canaux sont similaires.
CONSIGNE DE SÉCURITÉ LIÉE AUX BORNES DE SORTIE ! Ne pas toucher les
bornes de sortie lorsque l’amplificateur est sous tension. Établir tous les
branchements avec l’amplificateur hors tension. Risque d’énergie
dangereuse !
Sorties à faible impédance
Mode Stéréo et Parallèle - Connecter chaque haut-parleur à son propre canal de
l’amplificateur, comme illustré sur l’étiquette du châssis. Les commutateurs de con-
figuration de mode doivent être réglés conformément au mode Stéréo ou Parallèle.
Mode Pont - Le mode Pont configure la paire de canaux sélectionnée pour piloter
une charge unique de haut-parleur grande puissance. Les commutateurs de config-
uration de mode doivent correspondre au réglage du mode Pont. Utiliser unique-
ment l’entrée et la commande de gain du premier canal. Régler au minimum la
commande de gain du second canal.
Sorties distribuées (modèles V, 70 V/140 V)
Mode Stéréo et Parallèle - Connecter chaque circuit de 70 V à son propre canal de
l’amplificateur, comme illustré sur l’étiquette du châssis. Les commutateurs de con-
figuration de mode doivent être réglés conformément au mode Stéréo ou Parallèle.
Sortie 70 V - Risque d’énergie dangereuse ! Un câblage de classe 2 doit être util-
isé pour les sorties 70 V.
Mode Pont - Le mode Pont configure la paire de canaux pour piloter un circuit
audio 140 V unique. Les commutateurs de configuration de mode doivent corre-
spondre au réglage du mode Pont. Utiliser uniquement l’entrée et la commande de
gain du premier canal. Régler au minimum la commande de gain du second canal.
Connecter la charge comme illustré sur l’étiquette du châssis.
PRÉCAUTIONS LIÉES AU MODE PONT 140 V :
Un câblage de classe 3 doit être utilisé pour les sorties 140 V mono en pont.
Connecter uniquement des circuits audio distribués 140 V en mode Pont. Ne pas
utiliser de charges 70 V en mode Pont ! Utiliser les canaux de mode Stéréo ou
Parallèle pour piloter des charges de 70 V. 140 V est la charge minimale pour un
fonctionnement en mode Pont.
Connexion stéréo ou par-
allèle à faible impédance -
Chaque charge de haut-par-
leur se connecte à son
canal respectif. Modèle à 4
canaux en photo. S’assurer
que tous les branchements
de haut-parleurs maintien-
nent la polarité correcte.
Connexion en pont de
faible impédance - Chaque
charge de haut-parleur se
connecte à une paire de
canaux branchée en pont.
Modèle à 4 canaux illustré.
S’assurer de la polarité cor-
Charges nominales
indiquées par modèle
S’assurer que l’amplificateur
utilisé a des valeurs nomina-
les adaptées à la charge !
Un astérisque (*) indique le modèle
est adapté à la charge.
(S/P) = mode Stéreo/Parallèle
(Br.) = mode Pont

Other manuals for QSC CX404

Related product manuals