EasyManua.ls Logo

QSC CX602V - Page 44

QSC CX602V
63 pages
To Next Page IconTo Next Page
To Next Page IconTo Next Page
To Previous Page IconTo Previous Page
To Previous Page IconTo Previous Page
Loading...
DE
44
70-V-Stereo- oder
Parallelverbindung – Jede
70-V-Zone wird an ihrem
zugehörigen Kanal
angeschlossen. Stellen Sie
sicher, dass bei allen
Lautsprecheranschlüssen
die richtige Polarität gewahrt
ist.
140-V-
Überbrückungsverbindung –
Verdrahten Sie jedes
überbrückte Paar wie gezeigt
mit einem 140-V-Kreis.
Überprüfen Sie die Polarität
der Verbindung.
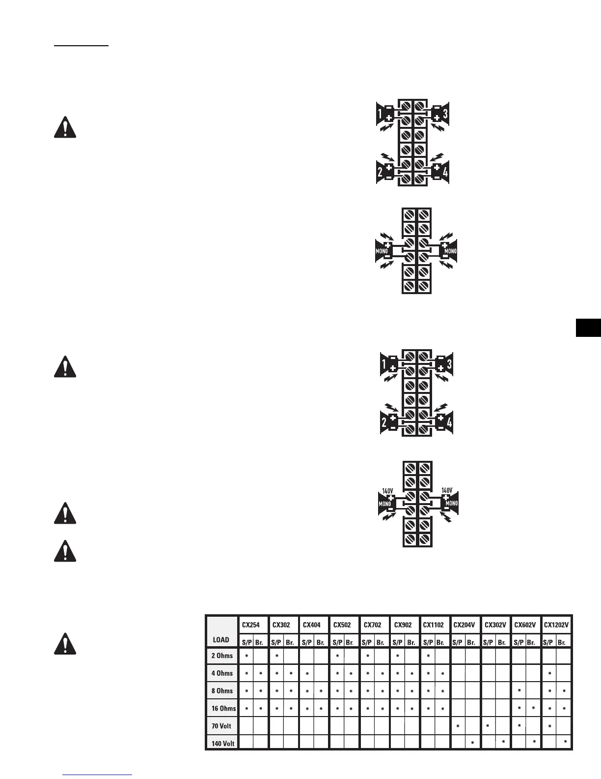
Ausgänge
Die Verdrahtung ist auf der Gehäuserückseite dargestellt. Beachten Sie sorgfältig
die Polaritätsmarkierungen, welche die Anschlüsse für den Überbrückungsmodus
erleichtern sollen. In diesen Beispielen sind 4-Kanal-Modelle abgebildet; die 2-
Kanal-Modelle sind ähnlich.
AUSGANGSKLEMMEN-SICHERHEITSHINWEIS! Die Ausgangsklemmen bei
eingeschaltetem Verstärker nicht berühren. Alle Verbindungen bei ausgeschalte-
tem Verstärker herstellen. Risiko gefährlicher Energien!
Niederohmige Ausgänge
Stereo- und Parallelmodus- Schließen Sie jeden Lautsprecher an seinen eigenen
(auf dem Gehäuseaufkleber abgebildeten) Verstärkerkanal an. Die Betriebsarten-
Konfigurationsschalter müssen auf den Stereo- oder Parallelmodus eingestellt sein.
Überbrückungsmodus – Im Überbrückungsmodus ist das Kanalpaar zum Treiben
eines einzelnen Hochleistungslautsprechers konfiguriert. Die Betriebsarten-Konfig-
urationsschalter müssen auf den Überbrückungsmodus eingestellt sein. Verwenden
Sie nur den Eingang und die Verstärkungsregelung des ersten Kanals. Stellen Sie
die Verstärkungsregelung des zweiten Kanals so niedrig wie möglich ein.
Verteilte Ausgänge („V“-Modelle, 70 V/140 V)
Stereo- und Parallelmodus- Schließen Sie jeden 70-V-Kreis an seinen eigenen
(auf dem Gehäuseaufkleber abgebildeten) Verstärkerkanal an. Die Betriebsarten-
Konfigurationsschalter müssen auf den Stereo- oder Parallelmodus eingestellt sein.
70-V-Ausgang – Risiko gefährlicher Energien! Für 70-V-Ausgänge müssen
Drahtleitungen der Klasse 2 verwendet werden.
Überbrückungsmodus – Im Überbrückungsmodus ist das Kanalpaar zum Treiben
eines einzelnen 140-V-Audiokreises konfiguriert. Die Betriebsarten-Konfigurationss-
chalter müssen auf den Überbrückungsmodus eingestellt sein. Verwenden Sie nur
den Eingang und die Verstärkungsregelung des ersten Kanals. Stellen Sie die Ver-
stärkungsregelung des zweiten Kanals so niedrig wie möglich ein. Schließen Sie die
Last wie auf dem Gehäuseaufkleber dargestellt an.
VORSICHTSHINWEISE FÜR DEN 140-V-ÜBERBRÜCKUNGSMODUS:
Für 140-V-Bridge-Mono-Ausgänge müssen Drahtleitungen der Klasse 3 verwen-
det werden.
Es dürfen nur verteilte 140-V-Audiokreise im überbrückten Modus angeschlossen
werden. Im Überbrückungsmodus keine 70-V-Lasten verwenden! Verwenden Sie
zum Treiben von 70-V-Lasten Kanäle im Stereo- oder Parallelmodus. Die Mindest-
last für den Betrieb im Überbrückungsmo dus beträgt 140 V.
Niederohmige Stereo- oder
Parallelverbindung – Jede
Lautsprecherlast wird an
ihrem zugehörigen Kanal
angeschlossen. Im Bild ist
das 4-Kanal-Modell
dargestellt. Stellen Sie sicher,
dass bei allen
Lautsprecheranschlüssen die
richtige Polarität gewahrt ist.
Niederohmige Bridge-
Verbindung - Jede
Lautsprecherlast wird mit
einem überbrückten
Kanalpaar verbunden. Im Bild
ist das 4-Kanal-Modell
dargestellt. Überprüfen Sie
die Polarität der Verbindung.
Nennlasten nach Modell
Achten Sie darauf, dass das
vorgesehene Verstärkermod-
ell auch für die jeweilige Last
aus gelegt ist!
Ein Sternchen (*) verweist darauf, dass
das Modell für die Last ausgelegt ist.
(S/P)= Stereo-/Parallelmodus
(Br.)= Bridge-Modus

Other manuals for QSC CX602V

Related product manuals