EasyManua.ls Logo

Quectel BG77 - RF Performance

Quectel BG77
80 pages
Print Icon
To Next Page IconTo Next Page
To Next Page IconTo Next Page
To Previous Page IconTo Previous Page
To Previous Page IconTo Previous Page
Loading...
LPWA Module Series
BG77 Hardware Design
BG77_Hardware_Design 59 / 76
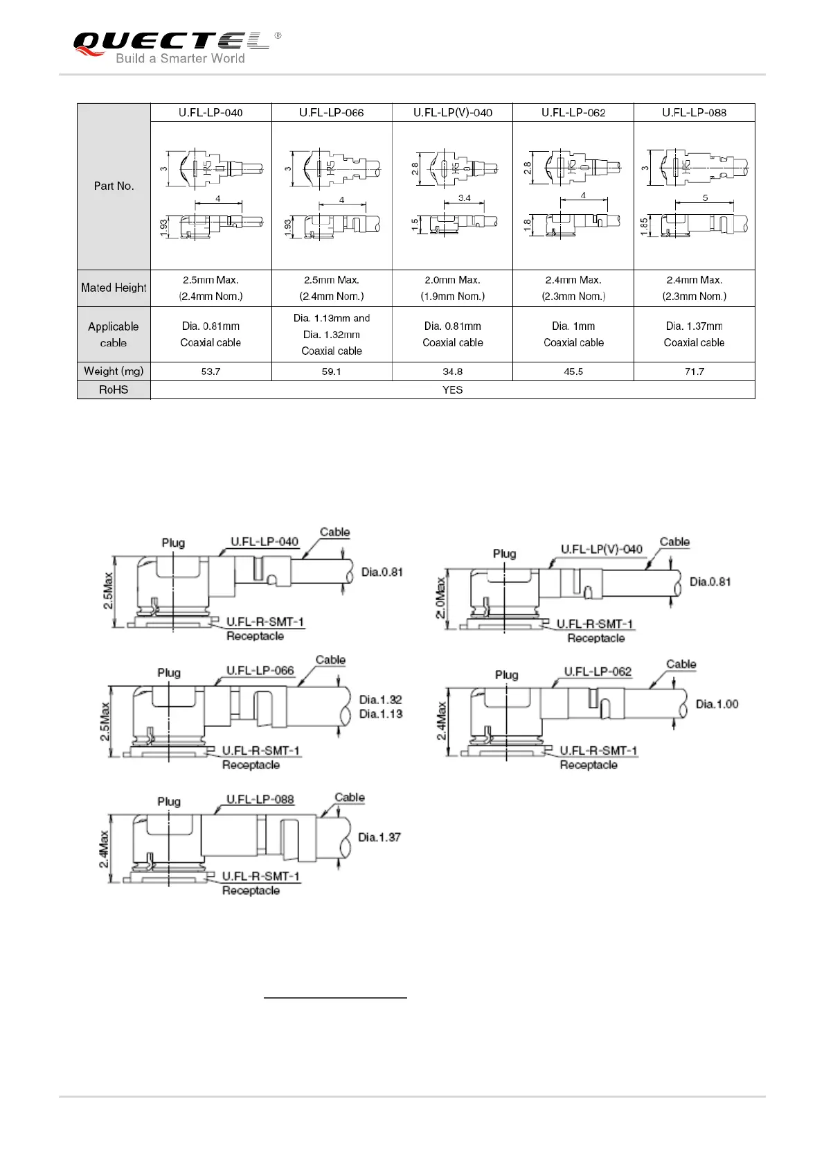
Figure 30: Mechanicals of U.FL-LP Connectors
The following figure describes the space factor of mated connector.
Figure 31: Space Factor of Mated Connector (Unit: mm)
For more details, please visit http://www.hirose.com
.

Table of Contents

Related product manuals