EasyManua.ls Logo

RADWAG PS 4500.R2

RADWAG PS 4500.R2
165 pages
To Next Page IconTo Next Page
To Next Page IconTo Next Page
To Previous Page IconTo Previous Page
To Previous Page IconTo Previous Page
Loading...
- 86 -
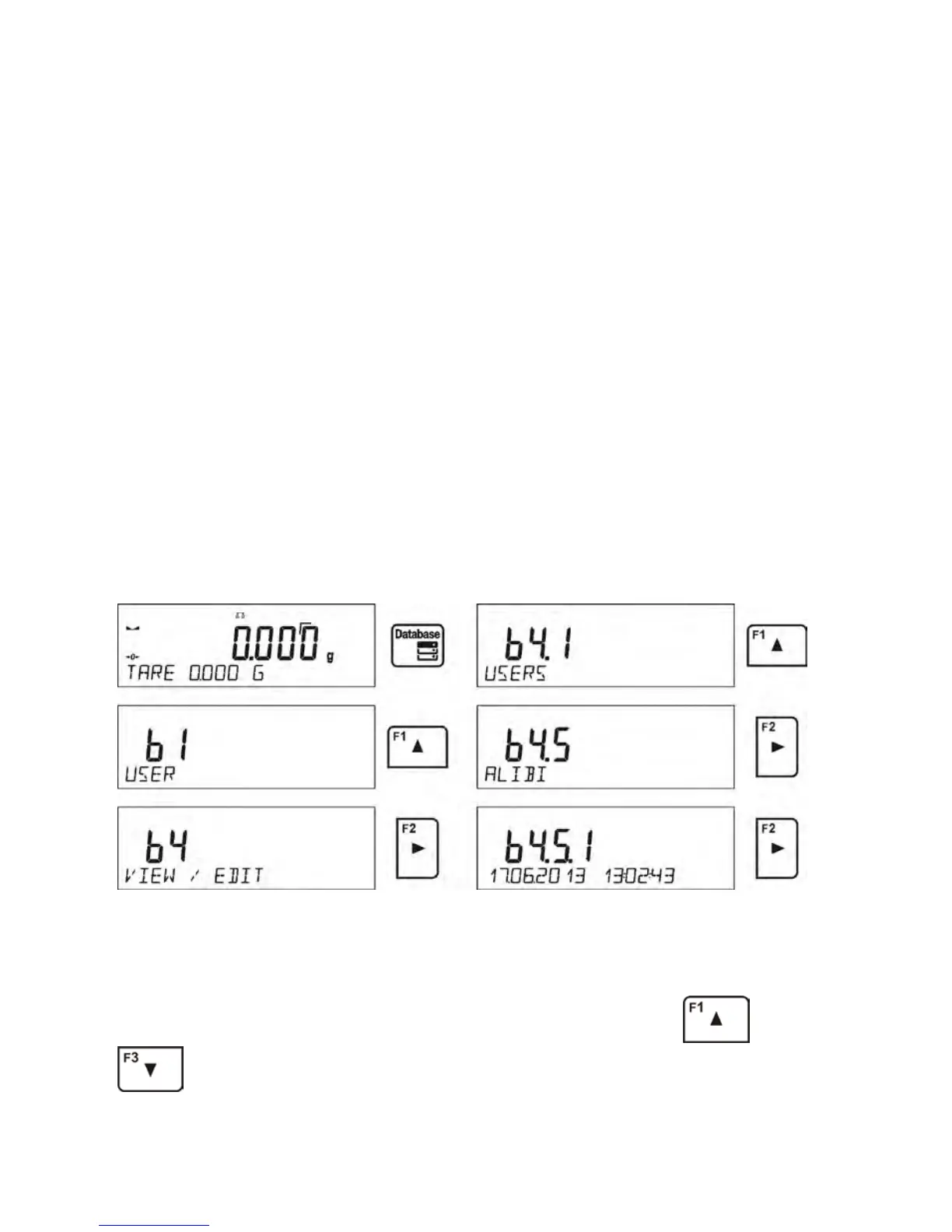
15.5. ALIBI
The balance is equipped with “ALIBI”, a type of memory that allows you to save and
store up to 100 000 measurements carried out on the balance.
If the “ALIBI” memory is installed in the balance, the saving of the measurements
occurs automatically, by pressing <PRINT> button, without a need of additional
actions or settings change.
The additional data is saved along with the measurement.
Date of the measurement
Time of the measurement
Measurement result (mass)
Tare value
Person carrying out the measurement (logged-in user)
The name of the product that has been weighed
The software saves the measurements in a so called loop, i.e. when the
measurement 1001 is saved, the measurement 1 is automatically deleted from the
balance’s memory.
The measurements saved in the balance’s memory cannot be deleted.
It is possible for a user to view and print out the data saved in the “ALIBI” memory.
Procedure:
Each measurement is saved with its individual number. The format is: b4.5.n,
where <n> is the consecutive number of the saved measurement. In the bottom line
the date and time are displayed for every single measurement.
To move through the saved measurements database, use the arrow
or
. To move to the next measurement either up or down the list, press one of
the buttons.

Table of Contents

Related product manuals