EasyManua.ls Logo

RAMSET TRAKFAST - Page 27

RAMSET TRAKFAST
68 pages
Print Icon
To Next Page IconTo Next Page
To Next Page IconTo Next Page
To Previous Page IconTo Previous Page
To Previous Page IconTo Previous Page
Loading...
TRAKFAST REPAIR MANUAL
26
Rev. 09/07
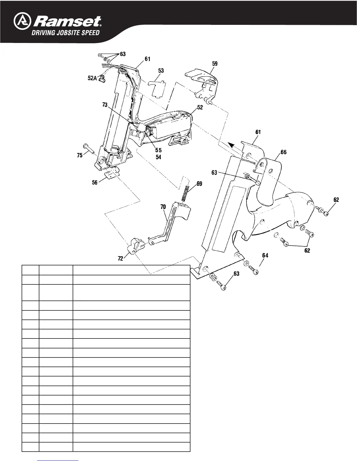
TOOL DISASSEMBLY
Handle Assembly
KEY PART NO. DESCRIPTION
52 7405163 Spark Unit (MSU)
52A 7505166 Red Wire and Boot Only (MSU)
(For tools after serial no. 398091440)
53 900012 Wire Cover Plate
54 404619 Insulator (under Trigger Switch)
55 404490 Trigger Switch
56 403999 Handle Contact Board
59 401400A Actuator Assembly
61 7405148 Left & Right Side Handle Halves
62 7405067 Screws & washers, #6-32 x 1” (pkg. 3)
63 401408 Screw & washer, #10-32 x 9/16”
64 401406 Screw & washer, #6-32 x 1-1/2”
66 401495 Belt Hook
69 401395 Trigger Spring
70 401394A Trigger Assembly
72 401396 Trigger Cam
73 7405091 Trigger Screws, #2 x 5/8” (pkg. 2)
75 401397 Cam Bushing
401450 Fuel Cell Pad (not shown)