EasyManua.ls Logo

RAMSET TRAKFAST - TOOL REASSEMBLY; Original Nosepiece

RAMSET TRAKFAST
68 pages
Print Icon
To Next Page IconTo Next Page
To Next Page IconTo Next Page
To Previous Page IconTo Previous Page
To Previous Page IconTo Previous Page
Loading...
TRAKFAST REPAIR MANUAL
39
Rev. 09/07
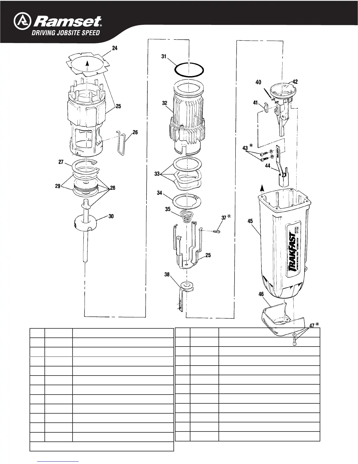
Original Nosepiece
TOOL REASSEMBLY
KEY PART NO. DESCRIPTION
24 401313 Air Dam
25 7405171 Combustion Chamber (w/Air Dam)
25A 900234 Cage
26 401330 Chamber Lockout Bar
27 401328 Piston Stop Retaining Ring
28 7502000 Piston Assembly (with Piston Rings)
29 7405055 Piston Rings (pkg. 2)
30 7505109 Bumper
31 404482 O-Ring (Sleeve and Mid-Check
32 403083 Sleeve and Mid-Check Assembly
33 7405056 Seal (1) and Wave Washers (2)
* screws use Loctite 242 (Blue)
KEY PART NO. DESCRIPTION
34 401322 Mid-Check Retaining Ring
35 401488 Cage Spring
37* 092769 Screw, #10-32 x 1/4”
38 7405057 Upper Probe with Grommet
40 7405058 Roll Pins (for Nosepiece Assembly) (pkg. 2)
41 401380 Tie Bar
42 801114A Nosepiece Assembly
43* 7405059 Screw Kit, #10-32 x 3/8” SEMS
45 7505148 Housing with labels
46 7505013 Dust Shield
47* 7405060 Cap Screw & Washer, #10-24 x 1” (pkg. 3)
A