EasyManua.ls Logo

Raymarine ST7000 - Linear Drive Unit (Z029, Z032, Z039, Z058, Z059) General Assembly

Raymarine ST7000
214 pages
To Next Page IconTo Next Page
To Next Page IconTo Next Page
To Previous Page IconTo Previous Page
To Previous Page IconTo Previous Page
Loading...
Autohelm
AutohelmAutohelm
Autohelm
SeaTalk Service Manual
7
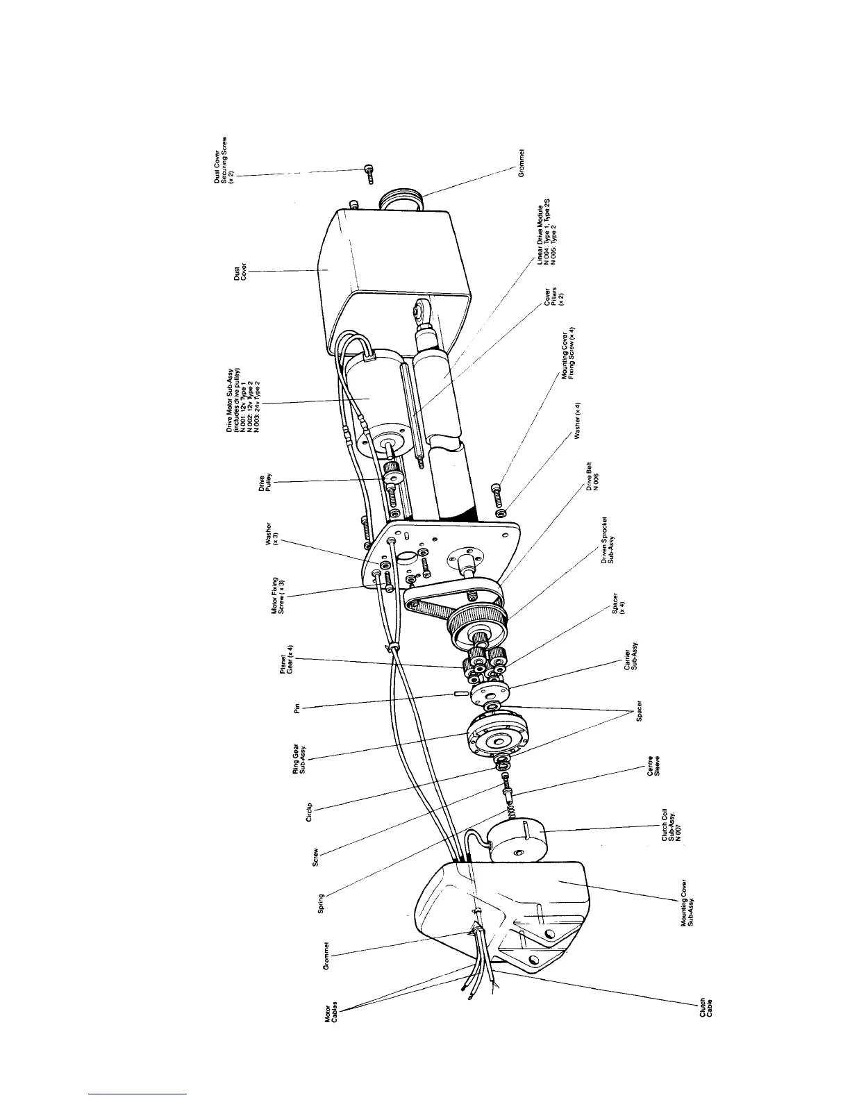
Fig. 1. Linear Drive Unit (Z029, Z032, Z039, Z058, Z059) General Assembly

Table of Contents

Other manuals for Raymarine ST7000

Related product manuals