EasyManua.ls Logo

Raypak HD401 - Page 29

Raypak HD401
52 pages
Print Icon
To Next Page IconTo Next Page
To Next Page IconTo Next Page
To Previous Page IconTo Previous Page
To Previous Page IconTo Previous Page
Loading...
29
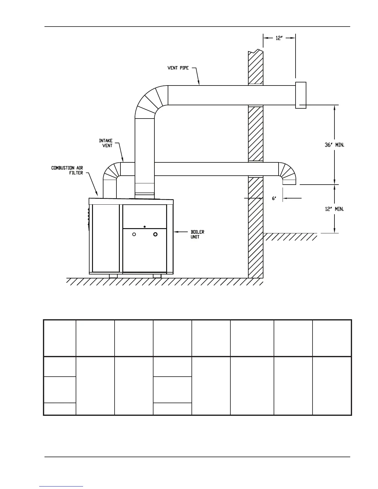
Fig. 22: Direct Vent Horizontal Thru-Wall Venting (Category III)
Model
No.
Appliance
Category
Certified
Venting
Material
Vent Size
(inches)
Max.
Venting
Length
(feet)
Combustion
Air Intake
Pipe
Material
Air Inlet
Size
(inches)
Max. Air
Intake
Length
(feet)
HD101
HD151
III
Stainless
Steel
(Gas Tight)
4
100,
4 Elbows
Max.
Galvanized
Steel
PVC
ABS
CPVC
4 100
HD201
HD251
HD301
5
HD401 6
Table M: Horizontal Thru-Wall Venting
Maximum 4 elbows, for either intake or vent.

Table of Contents

Related product manuals