EasyManua.ls Logo

Raytheon Beech Baron E55 - Page 198

Raytheon Beech Baron E55
903 pages
Print Icon
To Next Page IconTo Next Page
To Next Page IconTo Next Page
To Previous Page IconTo Previous Page
To Previous Page IconTo Previous Page
Loading...
Raytheon
Aircraft
Company
BARON
55
AND
58
SHOP
MANUAL
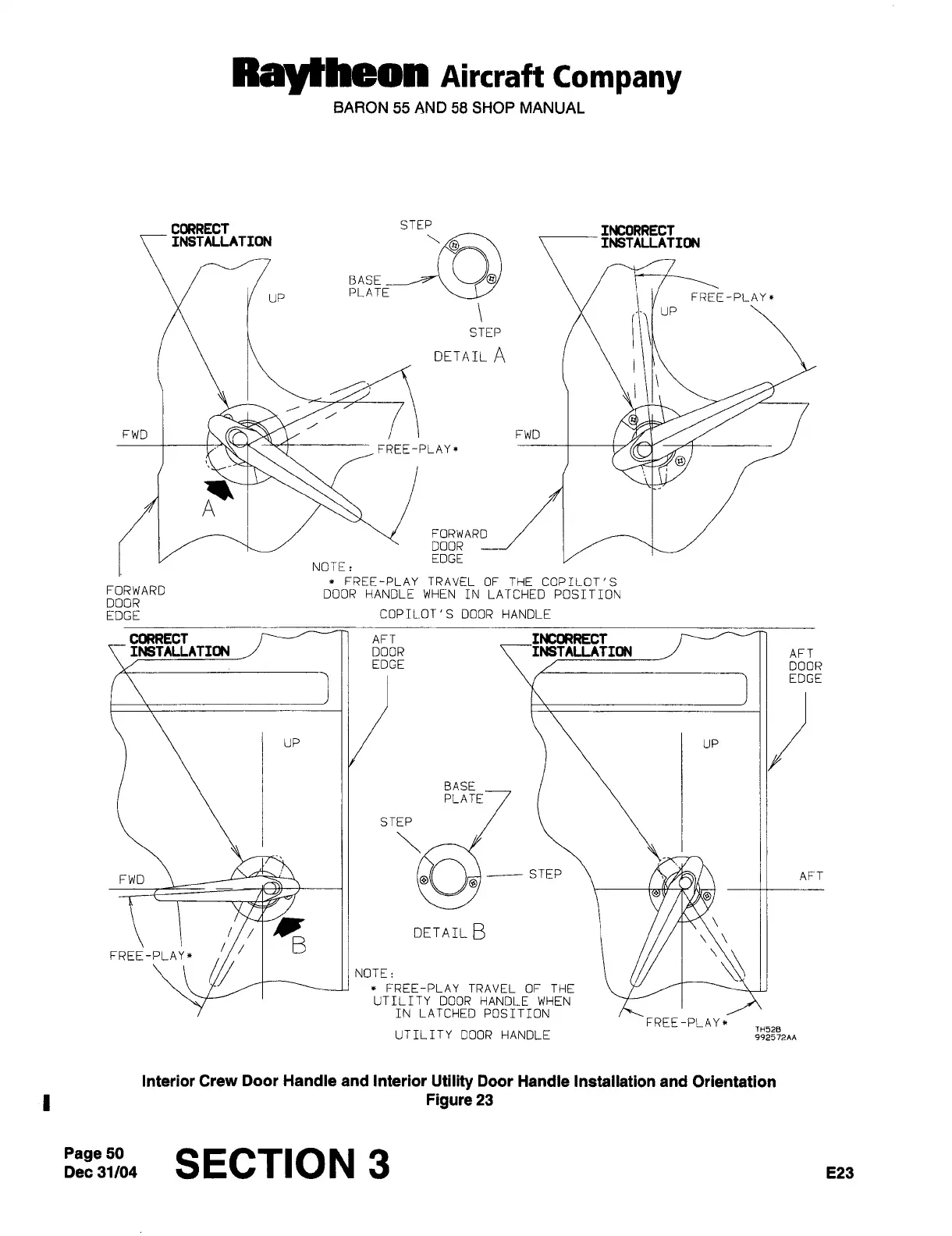
CORRECT
STEP
INCORRECT
BASEFLAT
INSTALLATION
INSTALLATION
FREE-PLAYx
up
STEP
DETAIL
A
FWD
I
n
rtil~
i
I
FWD
_FREE-PLAY*
A
FORWARD
DOOR
EDGE
NOTE:
FREE-PLAY
TRAVEL
OF
THE
COPILOT’S
FORWARD
DOOR
HANDLE
WHEN
IN
LATCHED
POSITTON
DOOR
EDGE
COPILOT’S
DOOR
HANDLE
CORRECT
AFT
INCORRECT
INSTALLATION
II
DOOR
INSTALLATION
II
AFT
EDGE
II
000R
EDGE
UP
II/
I
UP
BASE
PLATE
STEP
FWD
II
ie((
II
AFT
DETAIL
B
B
FREE-PLAY*
NOTE:
FREE-PLAY
TRAVEL
OF
THE
UTILITY
DOOR
HANDLE
WHEN
IN
LATCHED
POSITION
FREE-PLAY*
TH528
UTILITY
DOOR
HANDLE
992572AA
Interior
Crew
Door
Handle
and
Interior
Utility
Door
Handle
Installation
and
Orientation
Figure
23
Page
50Dec
31/04
SECTION
3
E23

Table of Contents

Related product manuals