EasyManua.ls Logo

Raytheon Beech Baron E55 - Page 497

Raytheon Beech Baron E55
903 pages
Print Icon
To Next Page IconTo Next Page
To Next Page IconTo Next Page
To Previous Page IconTo Previous Page
To Previous Page IconTo Previous Page
Loading...
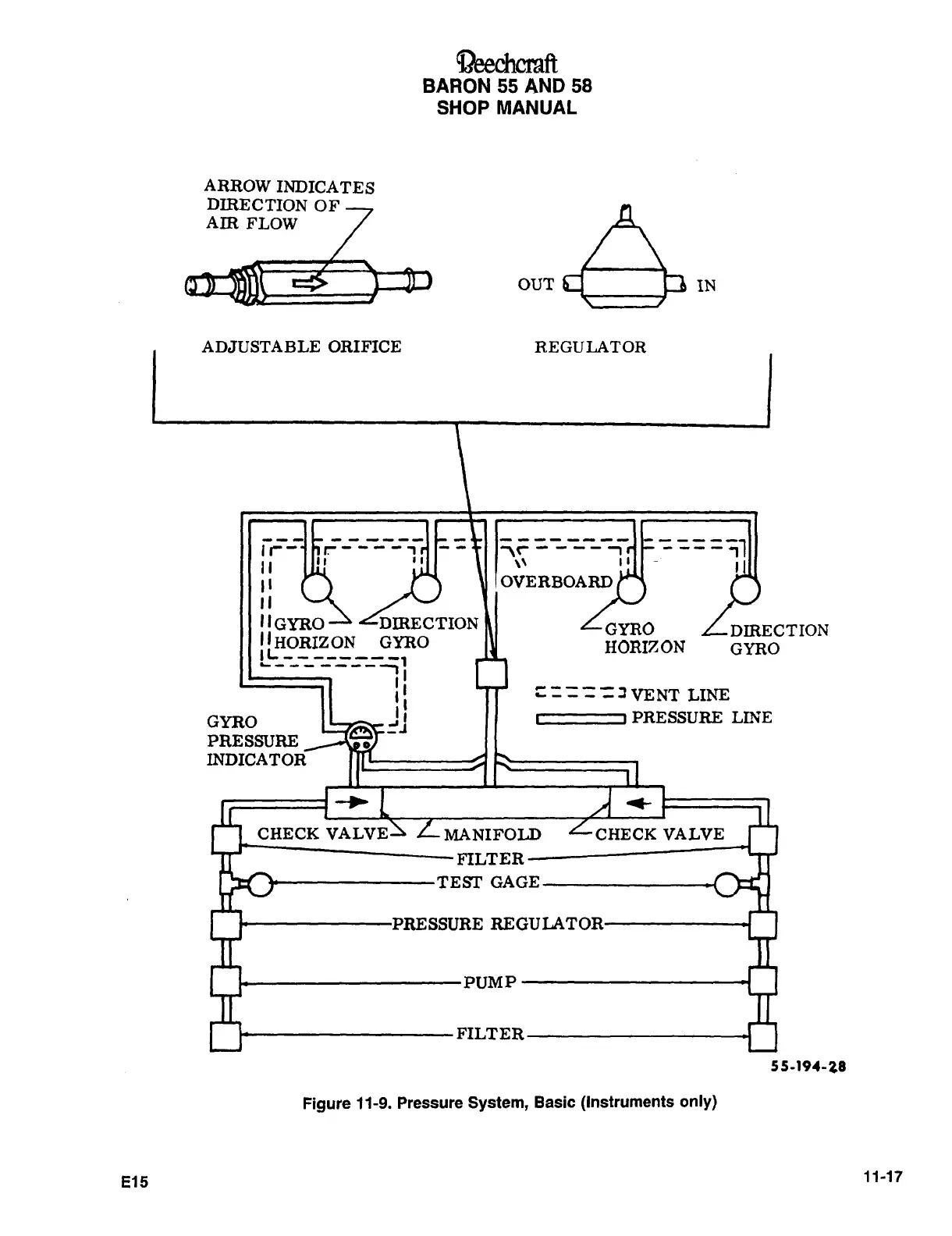
~eechcraft
BARON
55
AND
58
SHOP
MANUAL
ARROW
INDICATES
DIRECTION
OF
OUT
AIR
FLOW
ADJUSTABLE
ORIFICE
REGULATOR
-il
II
ii
II
II
II
y!OVERBOARD
I
IGYRO
LDIRECT~ON
GYRO
DIRECTION
IIHORIZON
GMO
HORIZON
GYRO
IL
3
VENT
LINE
I!
II
PRESSURE
LINE
GYRO
PRESSURE
INDICATOR
-t
I
A
CHECK
VALVE~
MANIFOLD
L-
CHECK
VALVE
FILTER
TEST
GAGE
PRESSURE
REGULATOR
PUMP
FILTER
55-194-98
Figure
11-9.
Pressure
System,
Basic
(Instruments
only)
Ei5
11-17

Table of Contents

Related product manuals