EasyManua.ls Logo

Raytheon Beech Baron E55 - Page 498

Raytheon Beech Baron E55
903 pages
Print Icon
To Next Page IconTo Next Page
To Next Page IconTo Next Page
To Previous Page IconTo Previous Page
To Previous Page IconTo Previous Page
Loading...
Beechcraft
BARON
55
AND
58
SHOP
MANUAL
ARROW
INDICATES
OUT
DIRECTION
OF
AIR
FLOW
ADJUSTABLE
ORIFICE
REGULATOR
VENT
LINE
ly
r
1
------~i)
II
ii
II
II
II
OVERBOARD
PRESSURE
LINE
Il
GYRO
/nZRECTION(I
/GYRO
DIRECTION
IIHORIZON
GYRO
UI
HOR
IZON
GYRO
L’--
r
------il
II
II
II
I
T
TEST
GAGE
J!
I I
II
L
TURN
I
AUTOPILOT
GYRO
C
OOR;DINAT
OR
L
MA
STE
R
PRESSURE
VA
LVE
INDICATOR
CHECK
VALVE’
"IIMANI:FOLD
CHECK
VALVE:
FILTER
TEST
GAGE
PRESSURE
REGULATOR
PUMP
FILTER
55-191-8
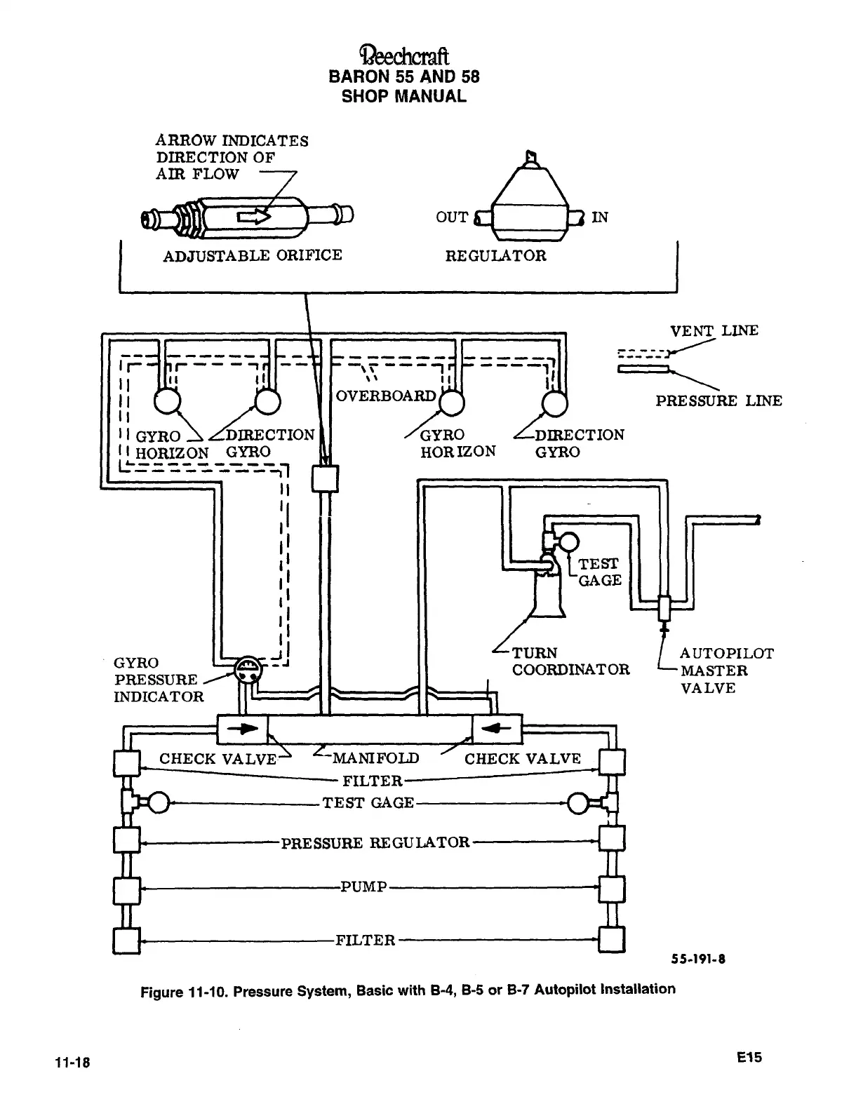
Figure
11-10.
Pressure
System,
Basic
with
8-4,
8-5
or
8-7
Autopilot
Installation
11-18
815

Table of Contents

Related product manuals