EasyManua.ls Logo

Raytheon Beech Baron E55 - Page 502

Raytheon Beech Baron E55
903 pages
Print Icon
To Next Page IconTo Next Page
To Next Page IconTo Next Page
To Previous Page IconTo Previous Page
To Previous Page IconTo Previous Page
Loading...
’l~echcraR
BARON
55
AND
58
SHOP
MANUAL
ARROW
INDICATES
DIRECTION
OF
OUT
AIR
FLOW
ADJUSTABLE
ORIFICE
REGULATOR
II
I!
I~
;t
\IIOVERBOARD
(IGYRO~
LDIRECTION~J
GYRO
DIRECTION
IIHORIZON
GYRO
GYRO
L
HORIZON
’I
VENT
LINE
L~---l
PRESSURE
LINE
DEICER
PRESSURE
GAGE
r;
II
(=I
"e
TO
DEICER
SYSTEM
GYRO
L
PRE
SSURE
INDICATOR
CHECK
VALVE’
LNLANIFOLD
LCHECK
VALVE
FILTER
TEST
GAGE
I’
-II-
TWO-STAGE
PRESSURE
REGULATOR
CZ
O
L
PUP(rL
FILTER
55-192-1
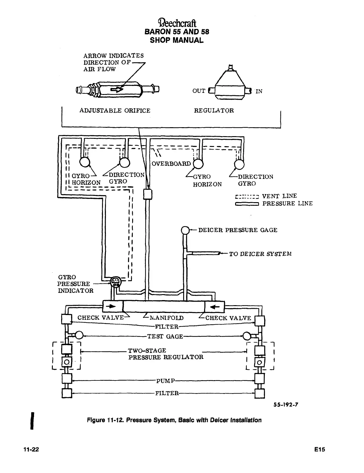
Figure
11-12.
Pressure
System,
Basic
with
Deicer
Installation
11-22
515

Table of Contents

Related product manuals