EasyManua.ls Logo

Raytheon Beech Baron E55 - Page 503

Raytheon Beech Baron E55
903 pages
Print Icon
To Next Page IconTo Next Page
To Next Page IconTo Next Page
To Previous Page IconTo Previous Page
To Previous Page IconTo Previous Page
Loading...
Qeedacraft
BARON
55
AND
58
SHOP
MANUAL
ARROW
INDICATES
OUT
DIRECTION
OF
AIR
FLOW
ADJUSTABLE
ORIFICE
REGULATOR
VENT
LINE
-~iL---]
Tr7
II
c
--7;1r------1!
I)
II
OVERBOARD
PRESSURE
LINE
1
i
GYR
DIRE
CTION
II)
LGYRO
LDIRECTION
(IHORIZON
GYRO
HORIZON
GYRO
TO
B-5P
1
r~7
Ir
II
IIAUTOPILOT
TEST
CAGE
B-5P
L~
~AUTOPILOT
PRESSURE
MASTER
II
REGULATOR
TirRN
VALVE
I
I
COORDINATOR
I
I
GYRO
~J
TO
DEICER
SYSTEM
PRESSURE
INDICAT
OR
IJI
A
F~
~DEICER
PRESSURE
INDICATOR
CHECK
VALVE
MANIFOLD
L-
CHECK
VALVE
FILTER
TEST
GAGE
TWO-STAGE
PRESSURE
REGULATOR
O
O
PUMP
FILTER
55-192-~
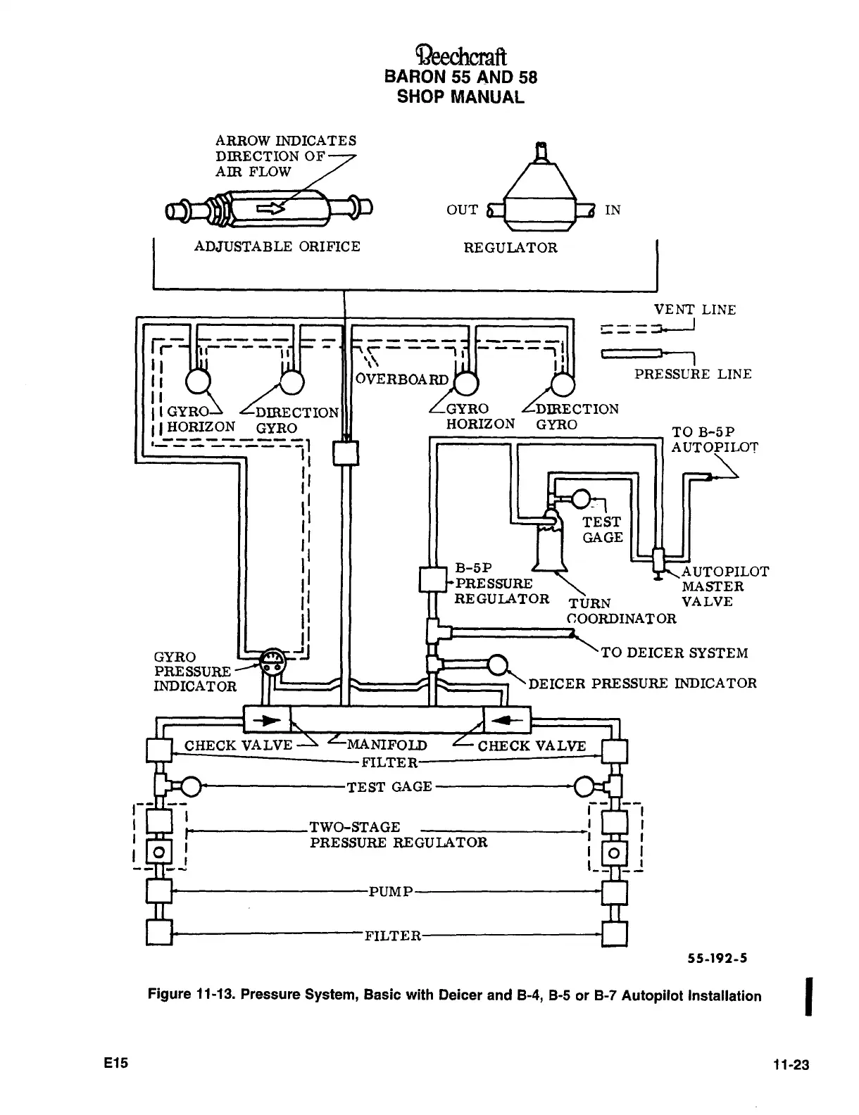
Figure
11-13.
Pressure
System,
Basic
with
Deicer
and
8-4,
8-5
or
8-7
Autopilot
Installation
E15
11-23

Table of Contents

Related product manuals