EasyManua.ls Logo

Raytheon Beech Baron E55 - Page 717

Raytheon Beech Baron E55
903 pages
Print Icon
To Next Page IconTo Next Page
To Next Page IconTo Next Page
To Previous Page IconTo Previous Page
To Previous Page IconTo Previous Page
Loading...
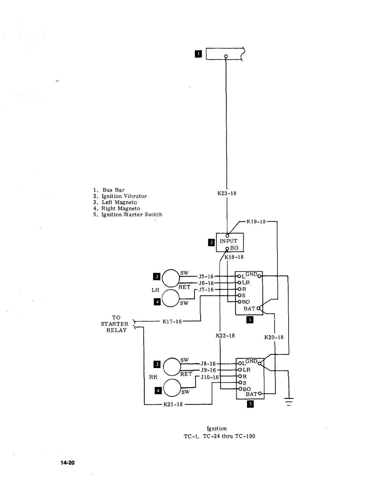
i.
Bus
Bar
K23-18
2.
Ignition
Vibrator
3.
Left
Magneto
4.
Right
Magneto
5.
Ignition
Starter
Switch
K19-18
INPUT
BO
K18-18
SW
GN
55-16
L
36-16-ft--tOLR
RET
LH
r
S
Bi/sw
RO
BAT
TO
STARTER
t---
K17-16
RELAY
K.22-18
K20-18
~sw
GND
r----Ja-is
L
59-is
~30
LR
RET
RH
yJ10-161
rVR
BOS
B
~jSW
BAT
K21-18
Ignition
TC-1.
TC-24
thru
TC-190
14-20

Table of Contents

Related product manuals