EasyManua.ls Logo

Raytheon Beech Baron E55 - Page 718

Raytheon Beech Baron E55
903 pages
Print Icon
To Next Page IconTo Next Page
To Next Page IconTo Next Page
To Previous Page IconTo Previous Page
To Previous Page IconTo Previous Page
Loading...
5A(
PI
L21A18
J1A18
Tb
CABIN
LIGHTS
_
_
TE-329.
TC-1029
AND
AFTER
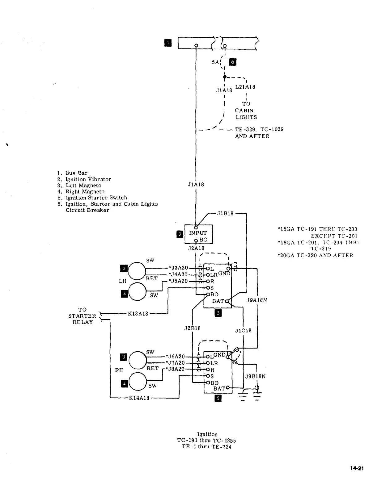
1.
Bus
Bar
2.
Ignition
Vibrator
3.
Left
Magneto
J1A18
4.
Right
Magneto
5.
Ignition
Starter
Switch
6.
Ignition,
Starter
and
Cabin
Lights
Circuit
Breaker
J1818
´•16CA
TC-191
THRC
TC-?33
INPUT
EXCE
PT
1C-201
’18GA
TC-201.
TC-23´•i
Tl!n!-
J2A18
TC-319
’Z0GA
TC-320
xrn
~FTER
SW
’53A20
L
L\
7
I
*J4A20
I~L´•LRGND
LH
*J5A20
’^L~R
BO
BATCn
J9A18N
TO
STARTER
K13A18
RELAY
52818
J1C18
1.
--I
I
*J6A20
LGND
*J7A20
LR
~*J8A20
R
RH
r
80
S
J98r8N
El~j
SW
BAT
K14A18
Ignition
TC-191
thru
TC-1255
TE-I
thru
TE-724
1Q11

Table of Contents

Related product manuals