EasyManua.ls Logo

Raytheon Beech Baron E55 - Page 719

Raytheon Beech Baron E55
903 pages
Print Icon
To Next Page IconTo Next Page
To Next Page IconTo Next Page
To Previous Page IconTo Previous Page
To Previous Page IconTo Previous Page
Loading...
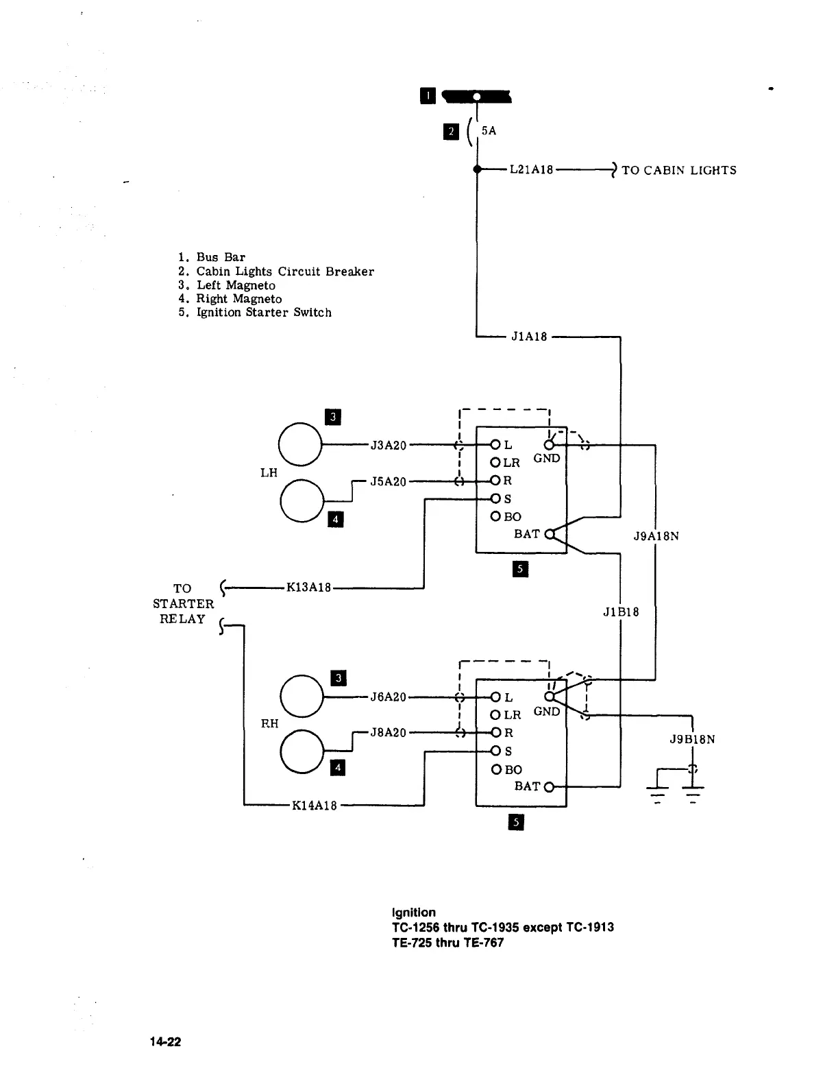
L21A18----~
TO
CAB1N
LIGHTS
1.
Bus
Bar
2.
Cabin
Lights
Circuit
Breaker
3.
Left
Magneto
4.
Right
Magneto
5.
Ignition
Starter
Switch
J1A18
I-
J3A20
OLRL
GM)
LH
S
O
BO
BAT
Q_
I
J9A18N
TO
(--------K13A18
STARTER
J1B18
RELAY
r----’I
I
J6A20
L
r
OLR
GND
1
r\
rJ8A20
R
Jsels~r
O
BOSBAT
K14A18
Ignition
TC-1256
thru
TC-1935
except
TC-1913
TE-725
thru
TE-767
14-22

Table of Contents

Related product manuals