EasyManua.ls Logo

Raytheon Beech Baron E55 - Page 720

Raytheon Beech Baron E55
903 pages
Print Icon
To Next Page IconTo Next Page
To Next Page IconTo Next Page
To Previous Page IconTo Previous Page
To Previous Page IconTo Previous Page
Loading...
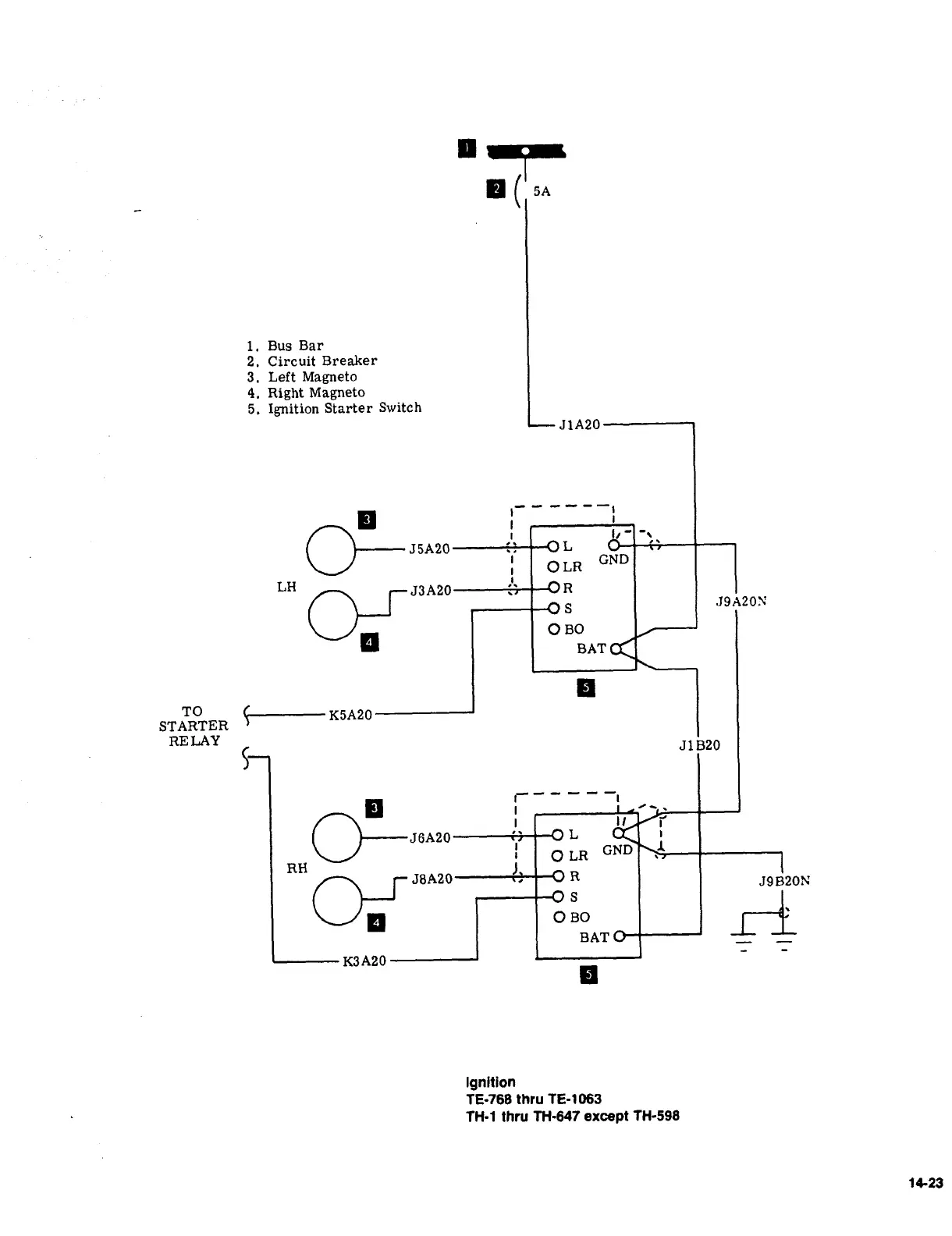
1.
Bus
Bar
2.
Circuit
Breaker
3.
Left
Magneto
4.
Right
Magneto
5.
Ignition
Starter
Switch
J1A20
0´•J5A20-------~
O
LRL
GND
J3A20
R
J9A20S
O
BO
BAT
~---K5A20
RE
LAY
JtB20
B
r-----I
II
J6A20
L
I
I
OLR
GND
I
r\
r
J8A20-----if-~
R
J9
B20N
t-l
S
O
BO
BAT
K3A20
Ignition
TE-768
thru
TE-1063
TH-1
thru
TH-647
except
TH-598
1423

Table of Contents

Related product manuals