EasyManua.ls Logo

Raytheon Beech Baron E55 - Page 735

Raytheon Beech Baron E55
903 pages
Print Icon
To Next Page IconTo Next Page
To Next Page IconTo Next Page
To Previous Page IconTo Previous Page
To Previous Page IconTo Previous Page
Loading...
El
5A
P(25!~10W
LH
1
E31
---6---
E31
------1
RH
21/
1
\12
1
1
E34
E45
E33
E35
MA~
E36
E38
E42
E40
+~t
E43
Fj
E41´•.
:bl
E67
1
c*
E38
00
F~jg
E66
E68
E6jl
12
01
2
Ej6
E47
1
E3f
00
OI_
(O
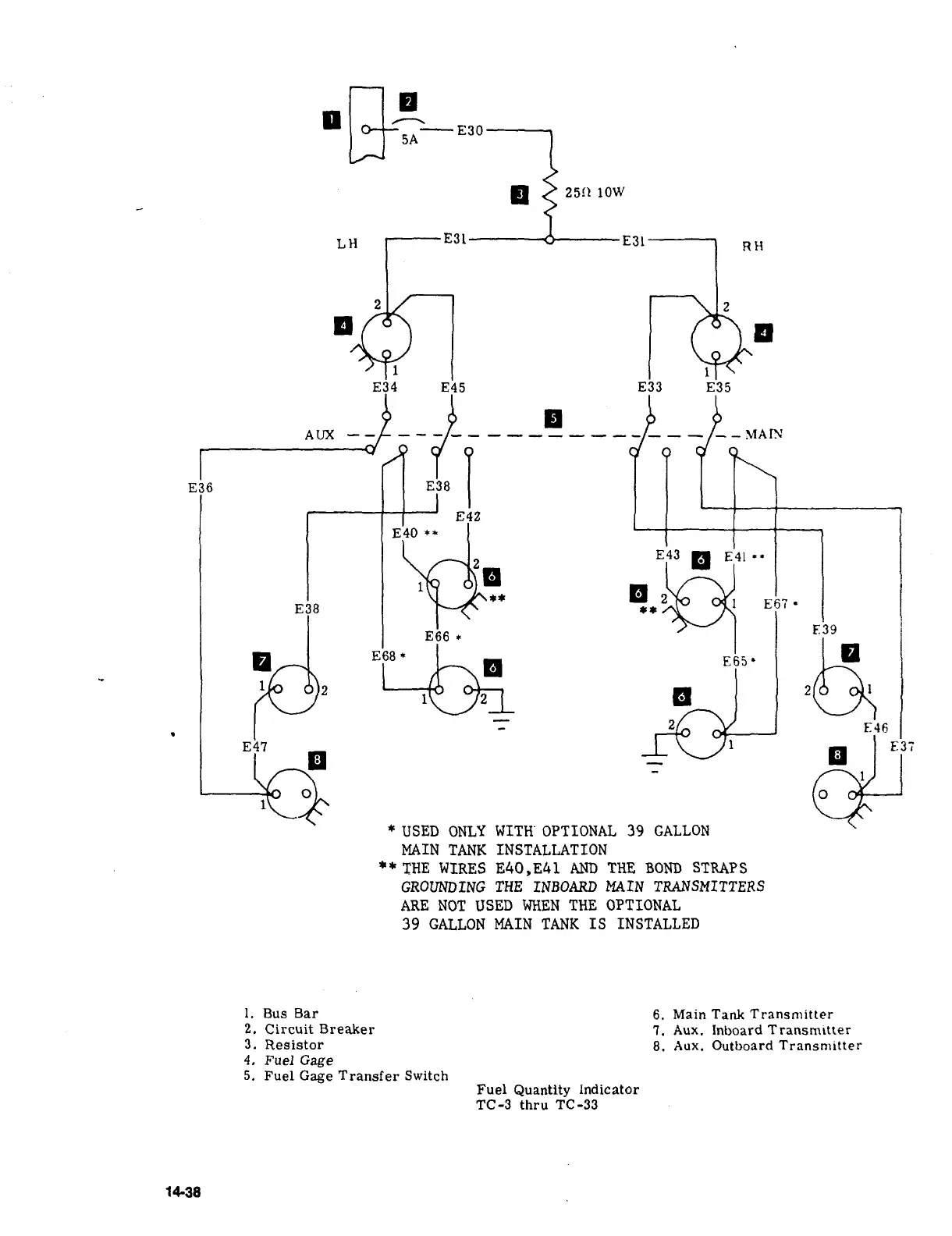
*USED
ONLY
WITH’
OPTIONAL
39
GALLON
MAIN
TANK
INSTALLATION
THE
WIRES
E40,ELtl
AND
THE
BOND
STRAPS
GROUNDING
THE
INBOILRD
MAIN
TRANSMITTERS
ARE
NOT
OSED
WHEN
THE
OPTIONAL
39
GALLON
MAIN
TANK
IS
INSTALLED
i.
Bus
Bar
6.
Main
Tank
Transmitter
2,
Circuit
Breaker
7.
Aux.
Inboard
Transmitter
3.
Resistor
8.
Aux.
Outboard
Transmitter
4.
Fuel
Gage
5.
Fuel
Gage
Transfer
Switch
Fuel
Quantity
Indicator
TC-3
thru
TC-33
14-38

Table of Contents

Related product manuals