EasyManua.ls Logo

Raytheon Beech Baron E55 - Page 754

Raytheon Beech Baron E55
903 pages
Print Icon
To Next Page IconTo Next Page
To Next Page IconTo Next Page
To Previous Page IconTo Previous Page
To Previous Page IconTo Previous Page
Loading...
PI
lod)pl
’041.
$1A18
Q4r\18
Q1B18
g4sie
LOW
HIGH
P
FFI
OF
azsls
668~j
&3A18
Q2A18
QSA18
Q6A18
ji
~I
1‘
T
C
A
C
I
g
r
II
!B
_I
I
4i
ii
LH
811
E55-369-(36
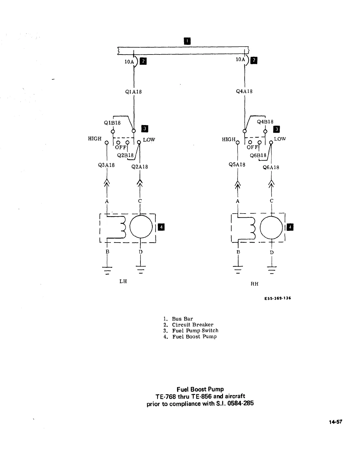
1.
Bus
Bar
2.
Circuit
Breaker
3.
Fuel
Pump
Switch
4.
Fuel
Boost
Pump
Fuel
Boost
Pump
’65-768
thru
’65-856
and
aircraft
prior
to
compliance
with
S.I.
0584´•285
14-Sf

Table of Contents

Related product manuals