EasyManua.ls Logo

Raytheon Beech Baron E55 - Page 757

Raytheon Beech Baron E55
903 pages
Print Icon
To Next Page IconTo Next Page
To Next Page IconTo Next Page
To Previous Page IconTo Previous Page
To Previous Page IconTo Previous Page
Loading...
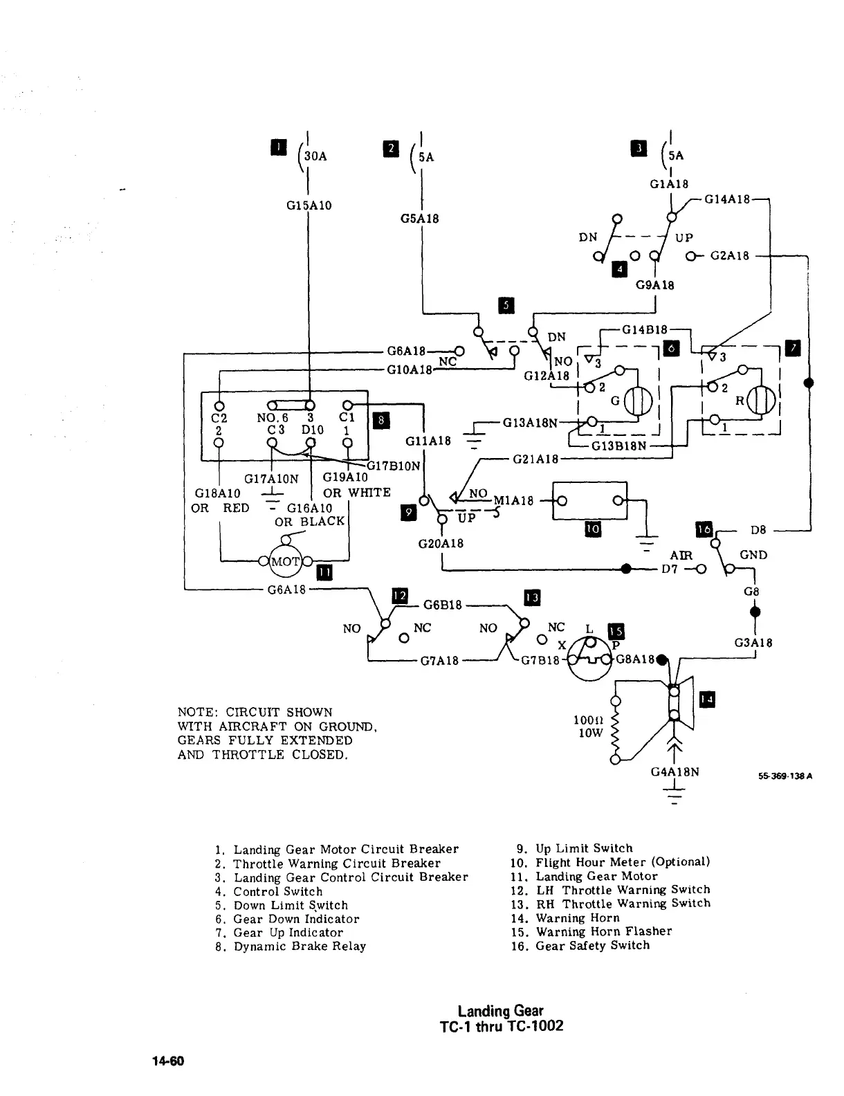
30A
8(5A
Q(5A
G1A18
DNbeUP
G14A18
G15A10
G5A18
80
G2A18
C9A18
G6A18-;;;P
~tJ
Q
NOC14B18-
~e
Lf~
~s
DN
NC
G12A18
]V3-
2
2
G
R
C2
N0.6
3
C1
dg
yG13A18N
2
C3
D10
1
G11A18
G13B1BN
G18A10
--LOR
BLACKOR
WHITE17B10NNO
G17A1ON
G19A10
i´•
´•t,
m
.8
VL~LM1AIB
OR
RED
G1GAtO
IP1
vp
-5
m
.20A18I
D7
--OGND
ATR
M
GBA18
al
G6B18
a
GB
NO
NC
NO
Y
NC
~h
m
t
o
o
X
G3AIB
G7Ar8----’
’G7B18
m
NOTE:
CIRCUIT
SHOWN
10011
WITH
AIRCRAFT
ON
GROUND,
10W
GEARS
FULLY
EXTENDED
AND
THROTTLE
CLOSED.
C4AIBN
55389138A
_L
I.
Landing
Gear
Motor
Circuit
Breaker
9.
Up
Limit
Switch
2.
Throttle
Warning
Circuit
Breaker
10.
Flight
Hour
Meter
(Optional)
3.
Landing
Gear
Control
Circuit
Breaker
11.
Landing
Gear
Motor
4.
Control
Switch
12.
LH
Throttle
Warning
Switch
5.
Down
Limit
Switch
13.
RH
Throttle
Warning
Switch
6.
Gear
Down
rn;licator
14.
Warning
Horn
7.
Gear
Up
Indicator
15.
Warning
Horn
Flasher
8.
Dynamic
Brake
Relay
16.
Gear
Safety
Switch
Landing
Gear
TC-1
thru
TC-1002
14-60

Table of Contents

Related product manuals