EasyManua.ls Logo

Raytheon Beech Baron E55 - Page 766

Raytheon Beech Baron E55
903 pages
Print Icon
To Next Page IconTo Next Page
To Next Page IconTo Next Page
To Previous Page IconTo Previous Page
To Previous Page IconTo Previous Page
Loading...
PL-J1J
15A
LC1A14
CIRCUIT
SHOWN
2
5
lN
153
POSITION
UP
DOnS
C7A14~3
\Q
6
UP
dCllA141
lj;
C2~1j
P"12A14a
C14A14
DO~t
C13B1
r´•
C9A18
C13A18
C3A18
C8A14
I
~2
Je3
~43
ie3
C4B18N
G
A
JC4C18$
R
TO
C4A18N
-L
~L
~L
II
INSTRUMENT
II
II
CIRCUITLIGHT
C1OA18
iP~-l_
i
BREAKER
10B18
C10C18~
MOT
C6A~4N
I,
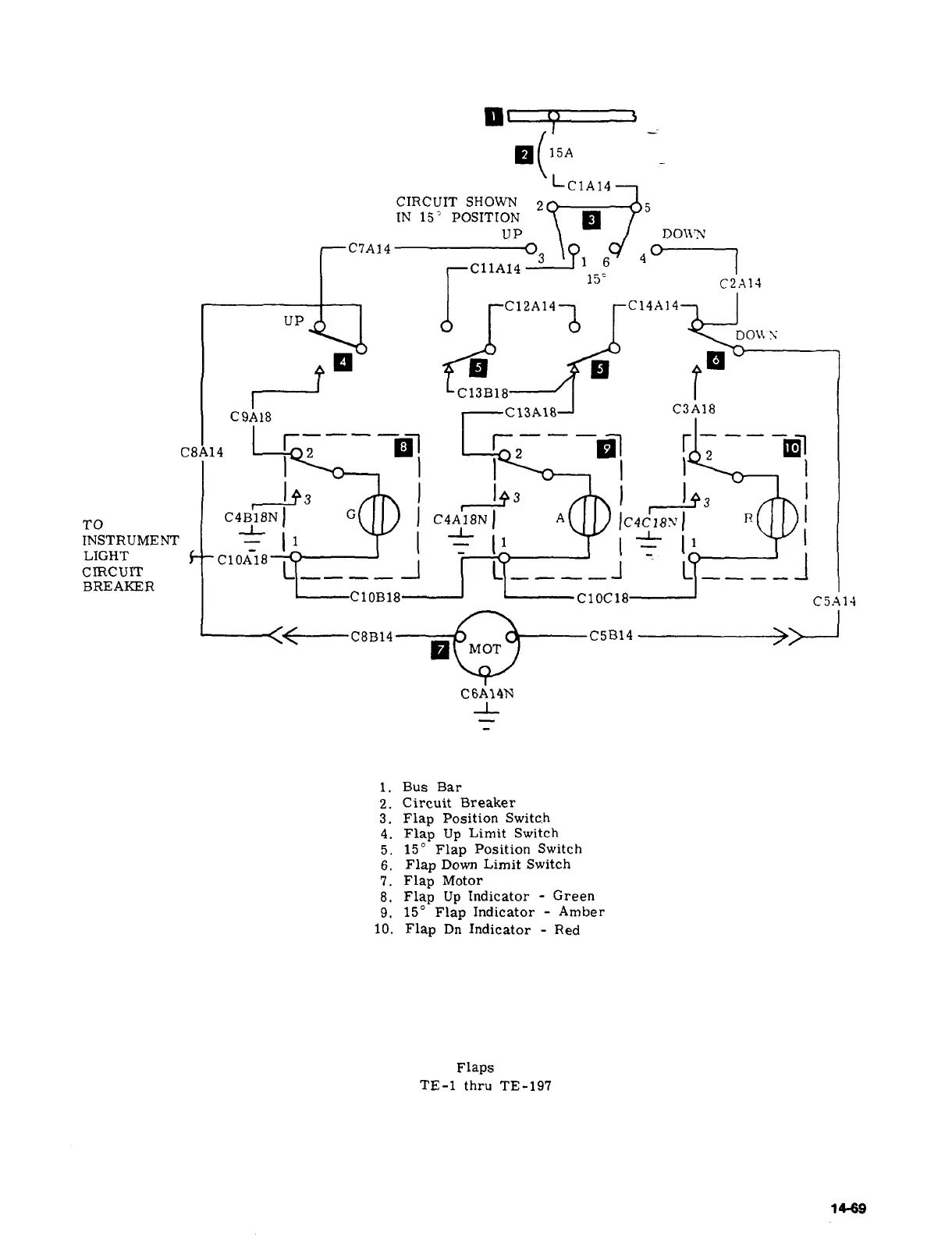
1.
Bus
Bar
2.
Circuit
Breaker
3.
Flap
Position
Switch
4.
Flap
Up
Limit
Switch
5.
15"
Flap
Position
Switch
6.
Flap
Down
Limit
Switch
7.
Flap
Motor
8.
Flap
Up
Indicator
Green
9.
15"
Flap
Indicator
Amber
10.
Flap
Dn
Indicator
Red
Flaps
TE-1
thru
TE-197
less

Table of Contents

Related product manuals