EasyManua.ls Logo

Raytheon Beech Baron E55 - Page 765

Raytheon Beech Baron E55
903 pages
Print Icon
To Next Page IconTo Next Page
To Next Page IconTo Next Page
To Previous Page IconTo Previous Page
To Previous Page IconTo Previous Page
Loading...
O
C7A14-----0
Clh14
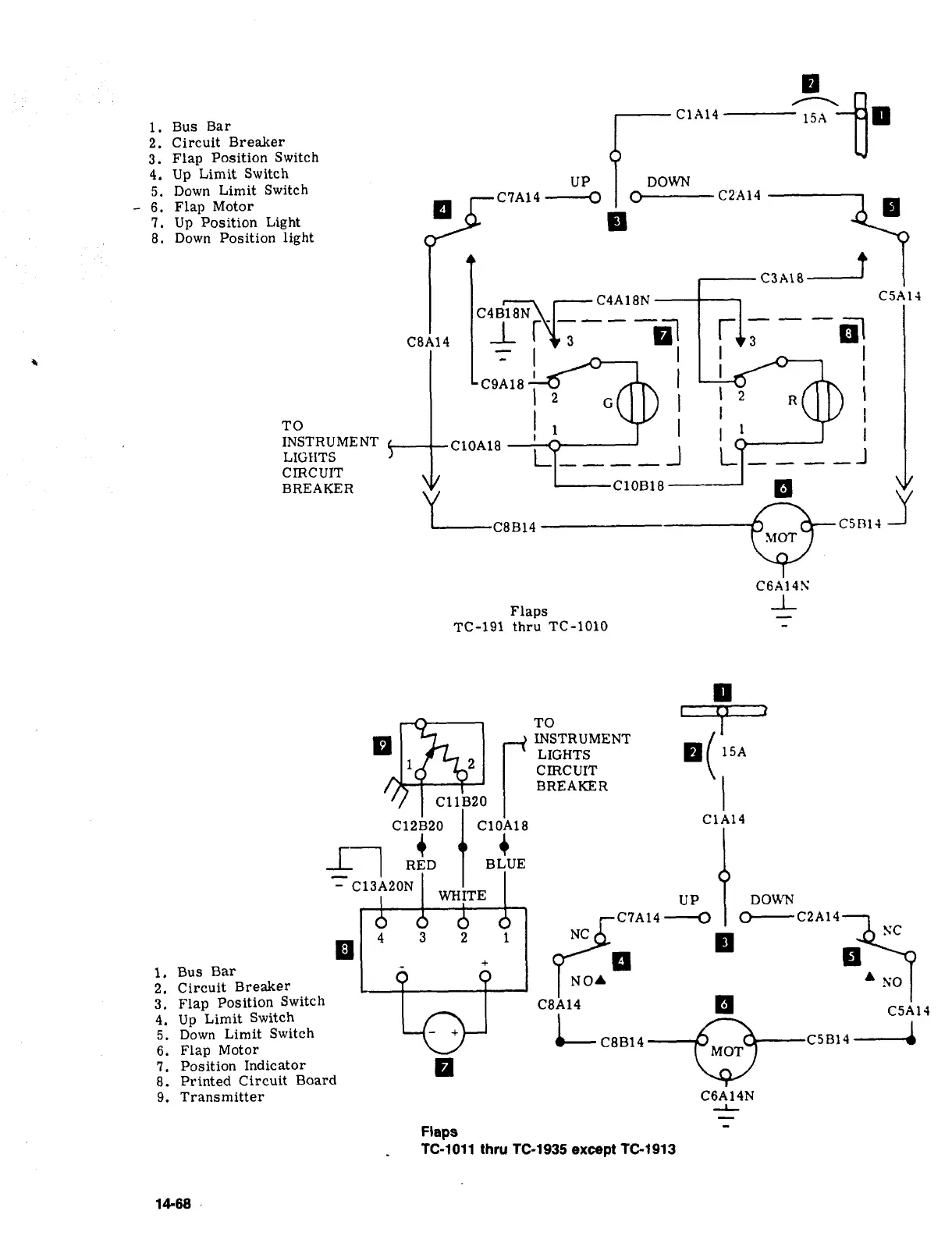
1.
Bus
Bar
2.
Circuit
Breaker
3.
Flap
Position
Switch
4.
Up
Limit
Switch
UP
DOWN
5.
Down
Limit
Switch
0--------
C214
6.
Flap
Motor
7.
Up
Position
Light
8.
Down
Position
light
C3A18
t
C4A18N
C5A1-1
C4B18N
C8A14
I_
r
3
3
~1
C9A18
\z
G
2
TO
I
i
1
rl
I
1
INSTRUMENTLICI~ITS
C1OA1B
L~
_
_
_
J
iP~II
__]
CIRCUIT
BREAKER
C10B18
Y
C8B14
a-
cj´•13
r
~ioT
CGA14S
Flaps
TC-191
thru
TC-1010
TO
ttl-I
8(
15A
CllB20
r
INSTRUMENT
1P
LIGHTS
1
2
CIRCUIT
BREAKER
C1A14
C12B20
C10A18
1~
RED
BLUE
C13A20N
WHITE
VP
I
DOISTJ
4321C7A14~
C2A1
4
i.
Bus
Bar
NOI
2.
Circuit
Breaker
5.
Down
Limit
Switch
i
C8B14snl~
1C5A1´•1
3.
Flap
Position
Switch
C8A14
4.
Up
Limit
Switch
6.
Flap
Motor
MOT
7.
Position
Indicator
8.
Printed
Circuit
Board
9.
Transmitter
C6A14N
Flaps
TC-1011
thru
TC-1935
except
TC-1913
14-68

Table of Contents

Related product manuals