EasyManua.ls Logo

Raytheon Beech Baron E55 - Page 764

Raytheon Beech Baron E55
903 pages
Print Icon
To Next Page IconTo Next Page
To Next Page IconTo Next Page
To Previous Page IconTo Previous Page
To Previous Page IconTo Previous Page
Loading...
IP
I
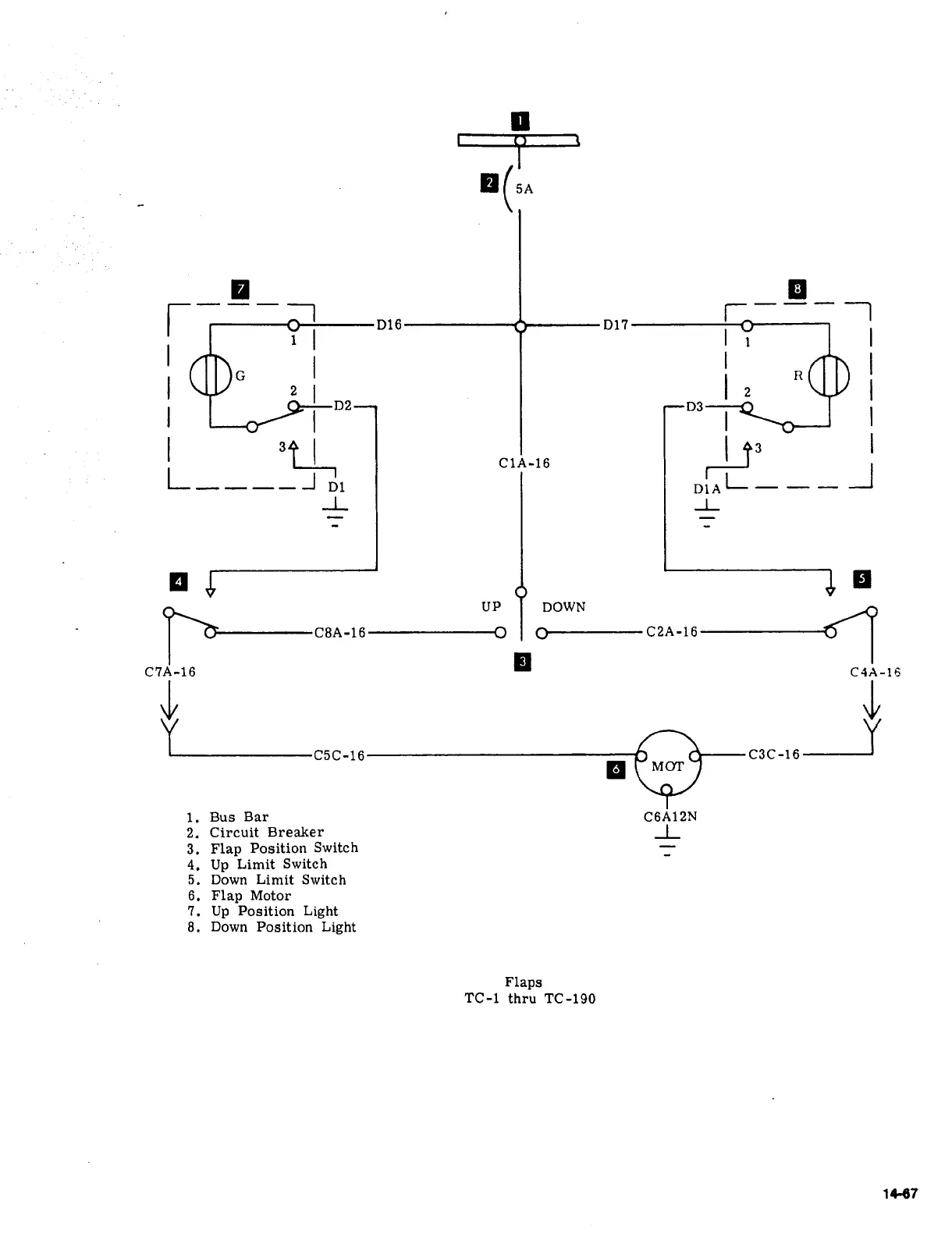
D16
D17
1
1
G
I
I
I
R
2
2
D2--~
I
~--D3
"f
C1A-16
L
-1
dr
D1AL
-I
-L
~L
C8A-16---------------0
C
2A
-1
6
UP
DOWN
C7A-16
C4h-16
~___C5C-16
~C3C-16
MOT
i.
Bus
Bar
C6A12N
2.
Circuit
Breaker
~L
3.
Flap
Position
Switch
4.
Up
Limit
Switch
5.
Down
Limit
Switch
6.
Flap
Motor
7.
Up
Position
Light
8.
Down
Position
Light
Flaps
TC-1
thru
TC-190
1C67

Table of Contents

Related product manuals