EasyManua.ls Logo

Raytheon Beech Baron E55 - Page 778

Raytheon Beech Baron E55
903 pages
Print Icon
To Next Page IconTo Next Page
To Next Page IconTo Next Page
To Previous Page IconTo Previous Page
To Previous Page IconTo Previous Page
Loading...
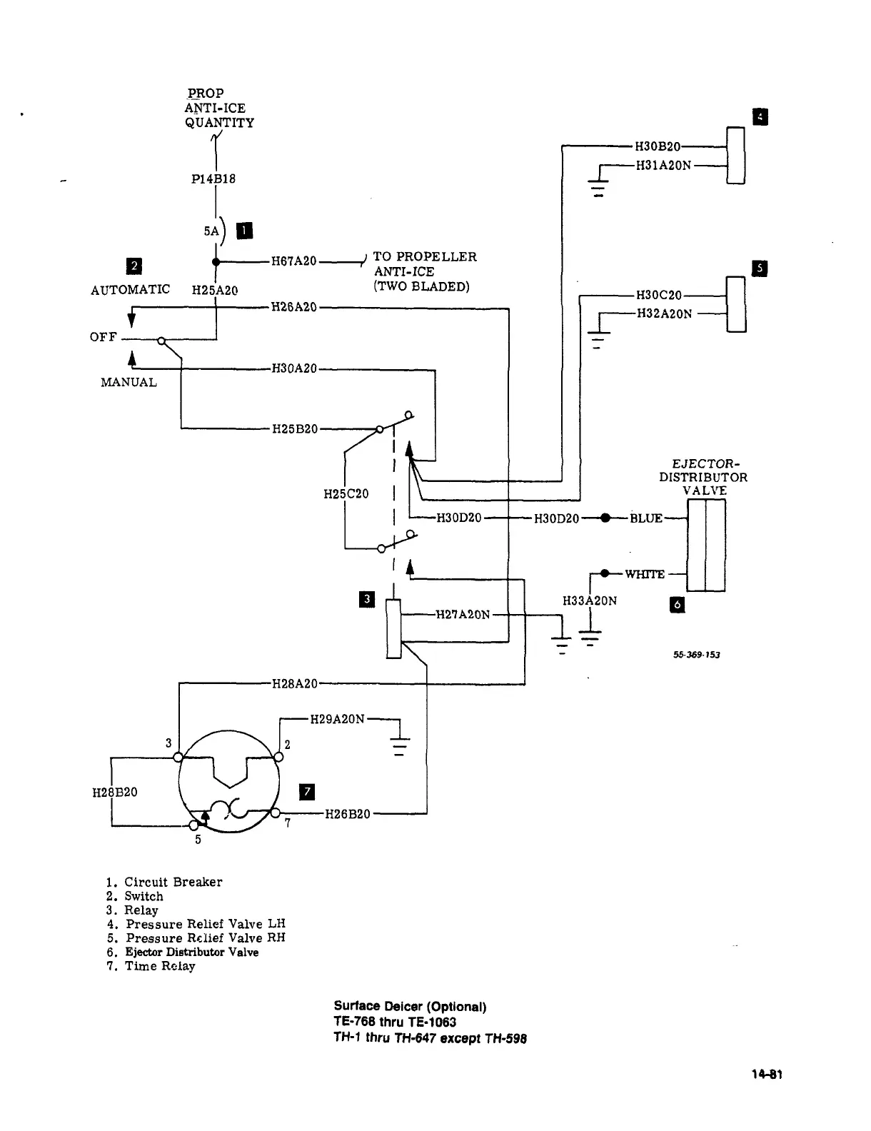
PROP
ANTI-ICE
QUANTITY
P14B18H31A20N
I
H30
P
f-H67A20
TO
PROPELLER
AUTOMATIC
H25A2~
H26A20
ANTI-ICE
1_H30C20H32A20
(TWO
BLADED)
OFF
H30A20
MANU
H25B20qP~
EJECTOR-
DISTRIBUTOR
H25C20
VAL~E
3!
ikc~
H30D20
--t-
H3
0D20
--e-
BLUE
WHITE
81
H33A21)N
62
H27A20N
I
55369-~53
H28A20
H29A20N
I
31/
12
H28B20
H26B20
I.
Circuit
Breaker
2.
Switch
3.
Relay
4.
Pressure
Relief
Valve
LH
5.
Pressure
Relief
Valve
RH
6.
Ejector
Distributor
Valve
7.
Time
Relay
Surface
Deicer
(Optional)
TE-768
thru
TE-1063
TH-1
thru
TH-647
except
TH-598
14-81

Table of Contents

Related product manuals