EasyManua.ls Logo

Raytheon Beech Baron E55 - Page 779

Raytheon Beech Baron E55
903 pages
Print Icon
To Next Page IconTo Next Page
To Next Page IconTo Next Page
To Previous Page IconTo Previous Page
To Previous Page IconTo Previous Page
Loading...
si
i.
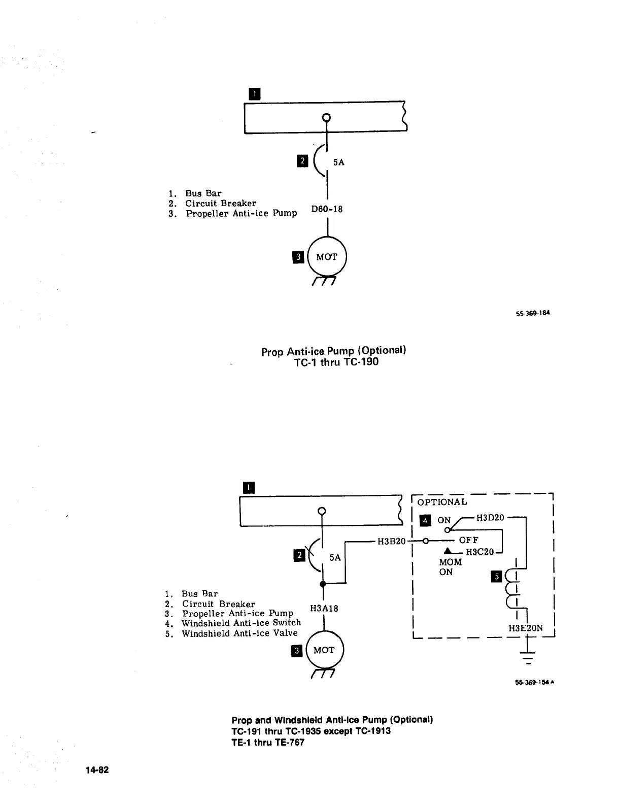
Bus
Bar
2.
Circuit
Breaker
DBO-18
3.
Propeller
Anti-ice
Pump
El
55´•369´•184
Prop
Anti-ice
Pump
(Optional)
TC-1
thru
TC-190
i~__I
ON
H3D20
~H3BZO
OFF
i.
Bus
Rar
L
H3C20
MOM
ON
2.
Circuit
Breaker
H3Ar8
3.
Propeller
Anti-ice
Pump
L---
H3E20Nj
4.
Windshield
Anti-ice
Switch
5.
Windshield
Anti-ice
Valve
IP
Prop
and
Windshield
Anti-ice
Pump
(Optional)
TC-191
thru
TC-1935
except
TC1913
TE-1
thru
TE-787
14-82

Table of Contents

Related product manuals