EasyManua.ls Logo

Raytheon Beech Baron E55 - Page 790

Raytheon Beech Baron E55
903 pages
Print Icon
To Next Page IconTo Next Page
To Next Page IconTo Next Page
To Previous Page IconTo Previous Page
To Previous Page IconTo Previous Page
Loading...
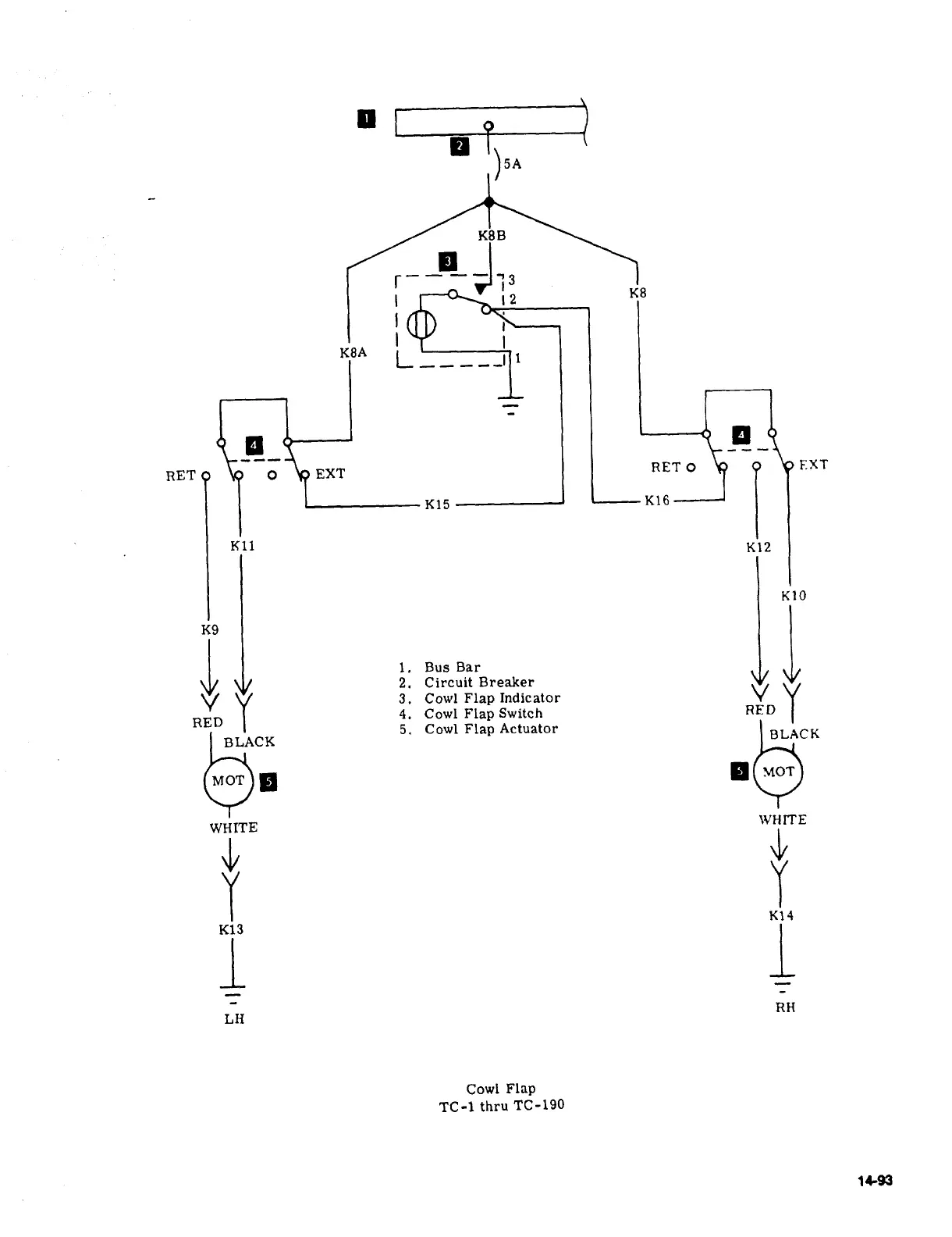
K8B
r---
73
K8
(2
KI8A
L
_
_
_
_
_I
I
1
Q
RET
O
T
EXT
RET
O
\O
O
EXT
K15
K16
K11
K12
K10
2.1.
Circuit
Breaker
Bus
Bar
Y
3.
Cowl
Flap
Indicator
Y
4.
Cowl
Flap
Switch
RED
RED
5.
Cowl
Flap
Actuator
BLACK
BLACK
NIOT
MOT
WHITE
WHITE
KI´•lB
K13
i
I
RH
LH
Cowl
Flap
TC-1
thru
TC-190
14-93

Table of Contents

Related product manuals