EasyManua.ls Logo

Raytheon Beech Baron E55 - Page 811

Raytheon Beech Baron E55
903 pages
Print Icon
To Next Page IconTo Next Page
To Next Page IconTo Next Page
To Previous Page IconTo Previous Page
To Previous Page IconTo Previous Page
Loading...
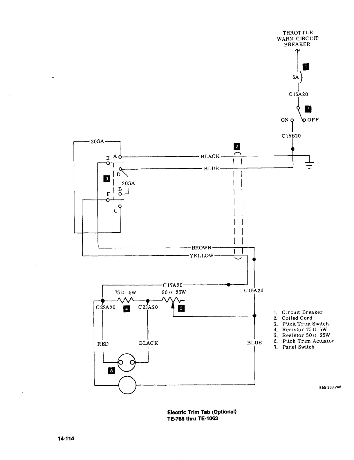
THROTTLE
WARN
CIRCt’lT
BREAtiFR
k
C
15A20
OFF
CljI~320
20GA
---r
E
AC
BLACK
j"o~------
BLIIE
20GA
BROWN
YELLOW
C17A20
75n
5W
50
25W
c
16P20
C2~2A20
C23P20
i.
Circuit
Breaker
2.
CoiledCord
3.
PitchTrim
Su;itch
4.
Resistor
75!:
5H;
5.
Resistor
50:!
25W
RED
BLACK
BLUE
6.
Pitch
Trim
Actuator
7.
Panel
Switch
E55364-206
Electric
Trim
Tab
(Optlonal)
TE-768
thru
TE-1063
14-114

Table of Contents

Related product manuals