EasyManua.ls Logo

RDS Weighlog 2 - Reference and Direction Sensor

Default Icon
21 pages
Print Icon
To Next Page IconTo Next Page
To Next Page IconTo Next Page
To Previous Page IconTo Previous Page
To Previous Page IconTo Previous Page
Loading...
Installation
Reference / Direction sensor
First establish with the operator the
most convenient weighing position to
suit the loading operation. The sensor
and magnet must be arranged so that
the magnet is opposite the sensor
face at the weighing position (fig 10).
The sensor cables are tagged to
identify the sensors - 'R' for the
reference sensor and 'D' for the
direction sensor.
NOTE: If you have to take the sensor clamp
apart, on re-asssembly the reference
sensor must be uppermost.
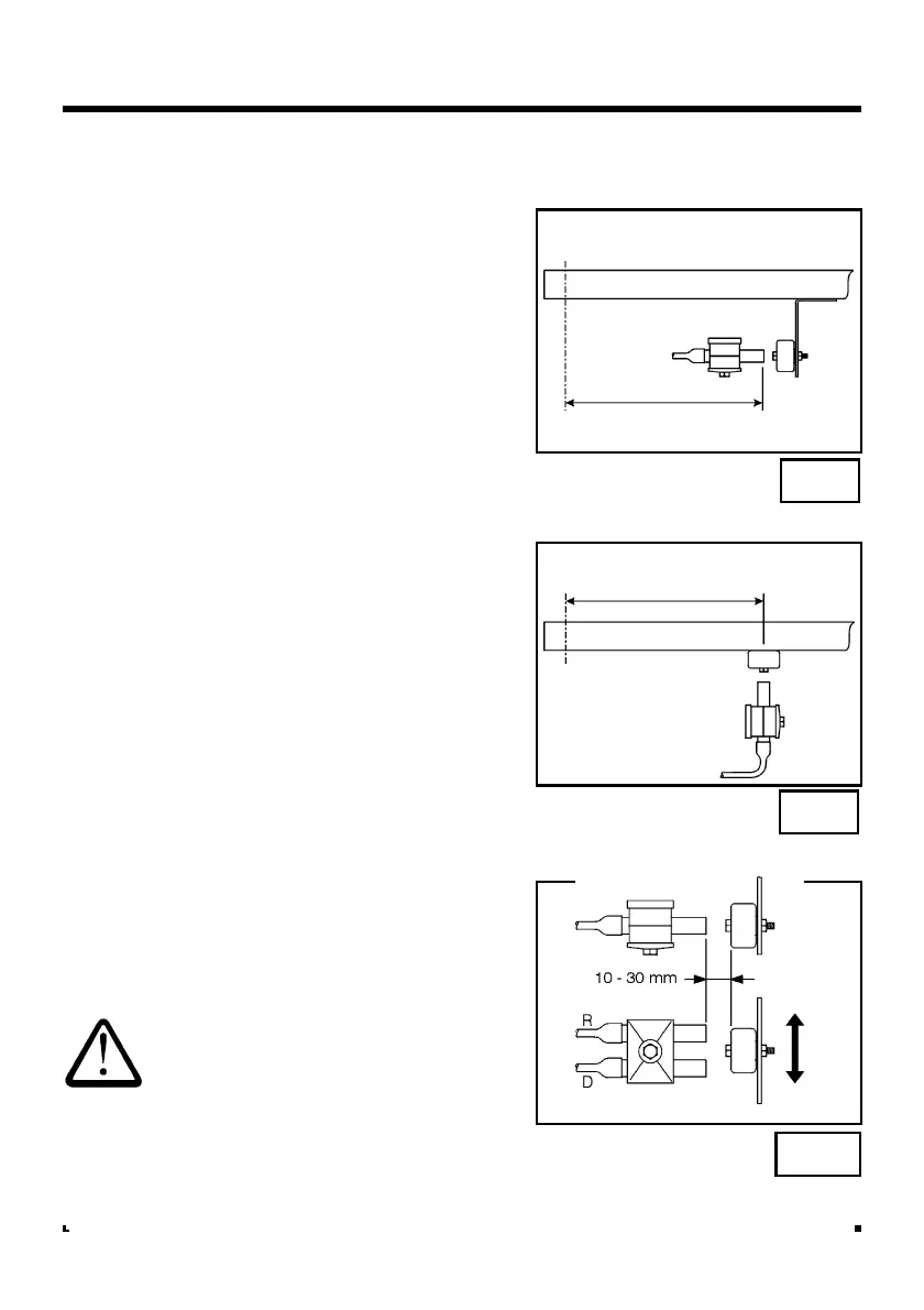
1. Lift the bucket to the height you want
to be the weighing position.
2. General purpose sensor and magnet
mounting brackets are provided which
can be modified if necessary. The
sensor can be mounted parallel (fig. 8)
or at right angles (fig. 9) to the lift arm.
When deciding how and where to
mount the sensor and magnet, note
that in all cases :-
(a) the sensor must be positioned at least
300 mm (12") away from the lift arm
pivot point (fig. 8 and 9).
(b) the magnet should pass the end of the
sensor, 10 mm (3/8") to 30 mm (1-
1/4") away from it in the orientation
shown (fig. 10).
Take care positioning the brackets
to ensure that they will not foul the
lift mechanism when the arms are
fully raised!
Fig. 8
> 300 mm
Fig. 9
300 mm
Fig. 10
10

Related product manuals