EasyManua.ls Logo

Record Power CL3-CAM - Use & Application of the CL3;B

Record Power CL3-CAM
48 pages
Print Icon
To Next Page IconTo Next Page
To Next Page IconTo Next Page
To Previous Page IconTo Previous Page
To Previous Page IconTo Previous Page
Loading...
40
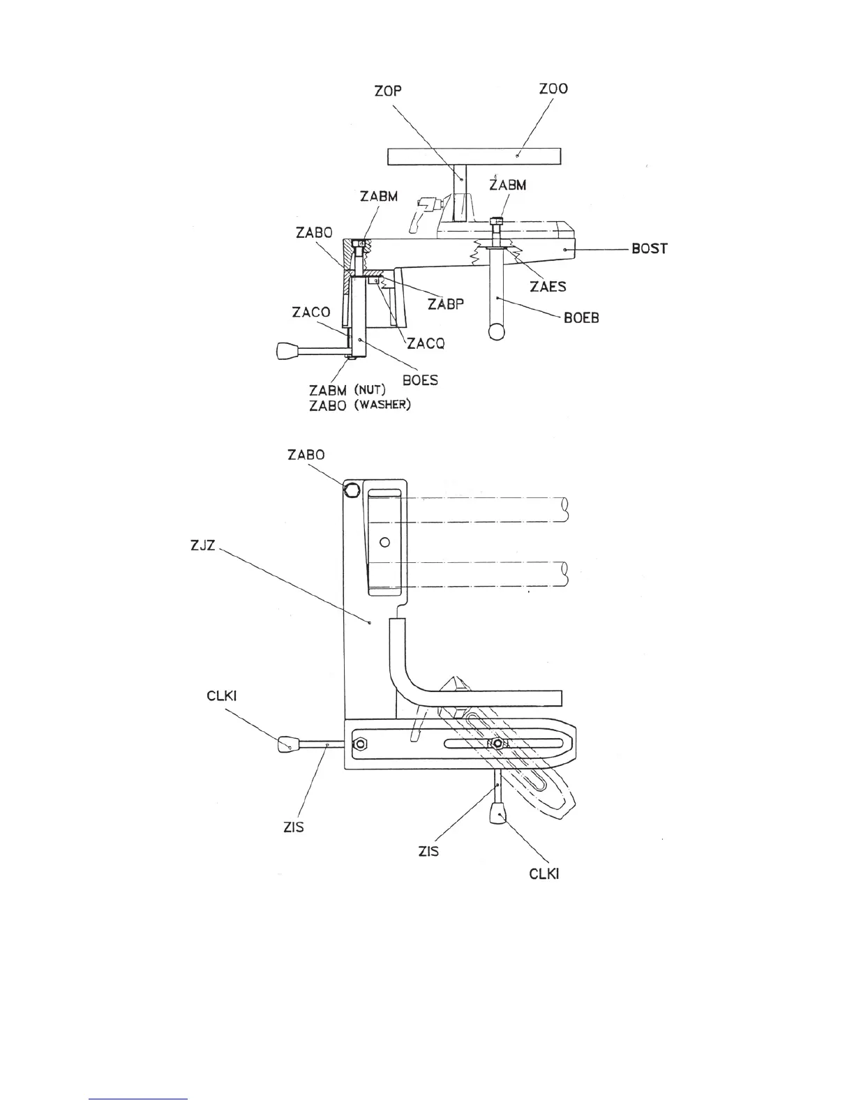
18. CL3/B Parts List & Diagrams
Part Number Description Quantity
ZJZ Bracket 1
BOST Swivel Bracket 1
BOEB Clamping Screw For Banjo 1
BOES Clamping Screw For Swivel Bracket 1
CLK1 Plastic Knob 2
ZIS Handle - Long 2
ZOP Stem For Tubular Bowl Rest 1
Part Number Description Quantity
ZOO Tube For Tubular Bowl Rest 1
ZABM Nut - M12 3
ZABO Washer - M12 3
ZAES Washer - Large 1
ZABP Washer - M10 1
ZACO Screw - M12 x 65mm 1
ZACQ Screw - M10 x 30mm 1

Related product manuals