EasyManua.ls Logo

Regada ST 0 - Page 34

Regada ST 0
43 pages
Print Icon
To Next Page IconTo Next Page
To Next Page IconTo Next Page
To Previous Page IconTo Previous Page
To Previous Page IconTo Previous Page
Loading...
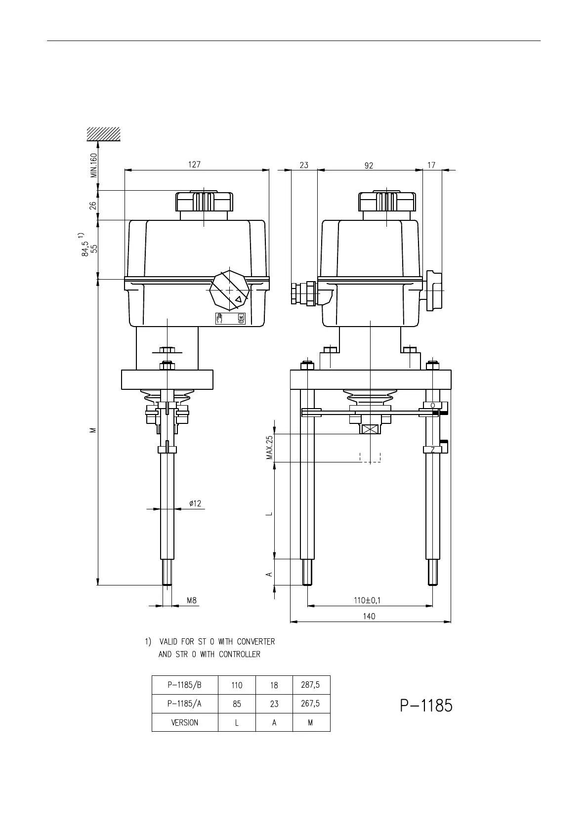
32 ST 0, STR 0
Pillars

Related product manuals