EasyManua.ls Logo

Renault J8S - Redressing the Valve Seats

Renault J8S
119 pages
Print Icon
To Next Page IconTo Next Page
To Next Page IconTo Next Page
To Previous Page IconTo Previous Page
To Previous Page IconTo Previous Page
Loading...
ENGINE AND PERIPHERALS
Overhauling the engine
10
10-55
REDRESSING THE VALVE SEATS
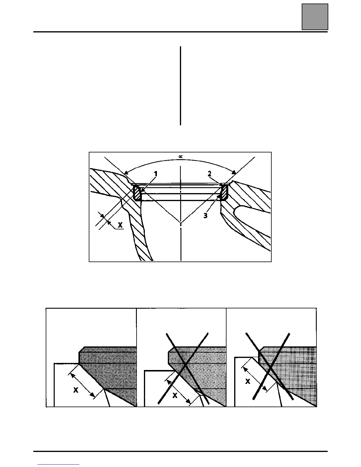
INLET
Width of mating faces X (in mm) 1.75± 0.2
Angle (α) 90˚
The mating face is corrected (1) using burr N 208 46˚.
Reduce the width of this mating face at (2) using burr
N 213 15˚ until width X is obtained.
EXHAUST
Width of mating faces X (in mm) 1.75± 0.2
Angle (α) 90˚
The mating face is corrected (1) using burr N 204 46˚.
Reduce the width of this mating face at (3) using burr
N 212 75˚ until width X is obtained.
N.B.: respect the mating face position of the valve on its seat.

Table of Contents

Related product manuals