EasyManua.ls Logo

Riello G3 - Page 17

Riello G3
24 pages
Print Icon
To Next Page IconTo Next Page
To Next Page IconTo Next Page
To Previous Page IconTo Previous Page
To Previous Page IconTo Previous Page
Loading...
5
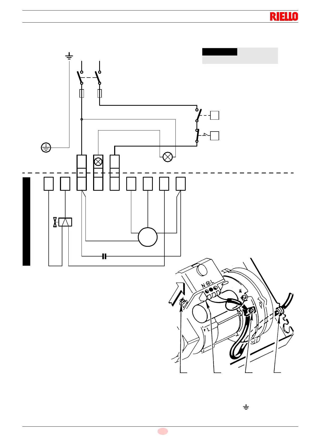
20013745
CN
电气连接
褐色
白色
50V)
兰色
马达
电容
启动温控器
零线
主开关
T6A
N L
M
~
S7026
黑色
注意
最小电线截面积:1 mm
2
.
电气接线必须符合所在国家的强制规定 .
松开螺钉 (A, 参见右图 ) 后,沿箭头方向拔出控制盒 .
光电管通过接线插头直接安装在控制盒上 (
在点
火变压器底部
).
测试
检查温控器断开后,燃烧器是否停止运行 .
家设置
警告
不要将火线与零线接反
.
230V ~ 50Hz
NL
安全温控器
远程锁定信号
(230V - 0.5A max.), 如需要
123456789
兰色
褐色
控制盒 530SE
*
的接线端子
阀门
T
T
电气连接电缆
1 - 电线护套N - 零线
2 - 线卡L - 火线
3 - 接线端子 - 燃烧器接地
A321
D5228
黑色

Related product manuals