EasyManua.ls Logo

Riello MST 30 - Page 7

Riello MST 30
52 pages
Print Icon
To Next Page IconTo Next Page
To Next Page IconTo Next Page
To Previous Page IconTo Previous Page
To Previous Page IconTo Previous Page
Loading...
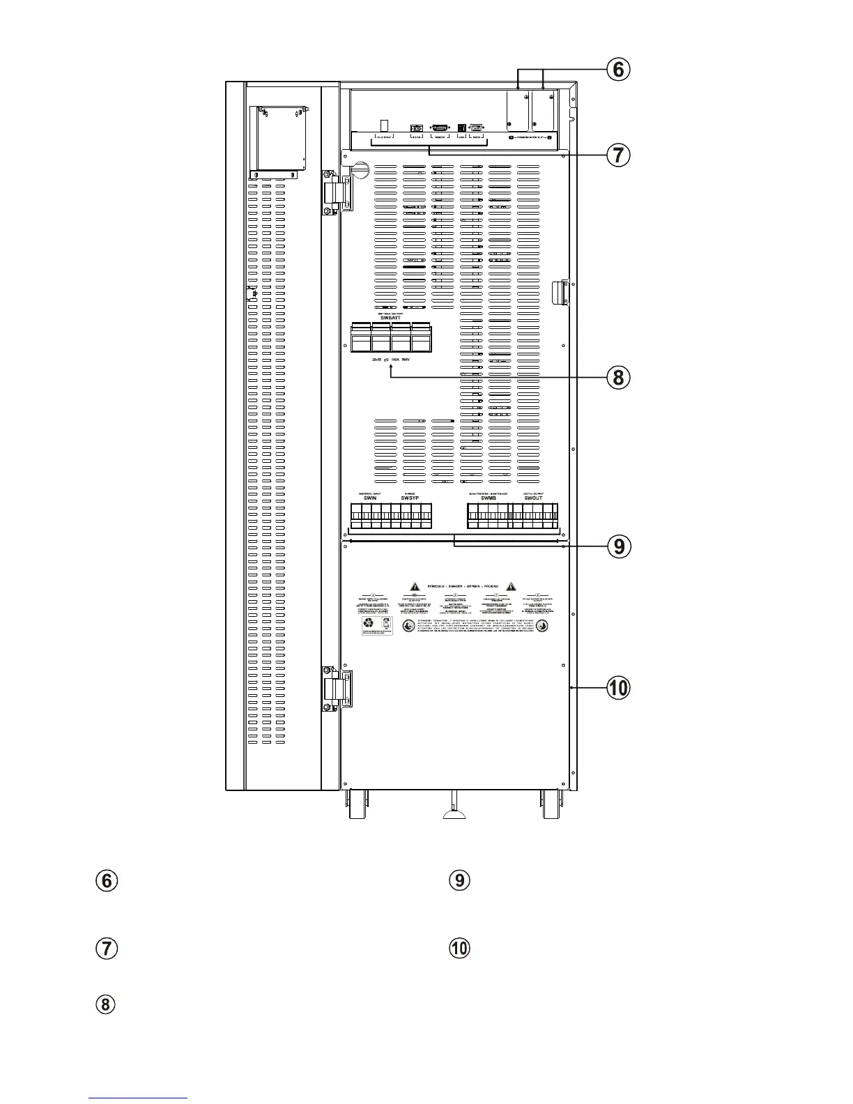
Slot for auxiliary communication board
From the left:
Input isolator / Separate bypass isolator (optional) /
Manual bypass isolator / Output isolator
From the left:
Battery start button (COLD START) / R.E.P.O.
(Remote Emergency Power Off) connector / Contact
holder for AS400 / USB communication port / RS232
communication port
Terminal cover
Battery fuse holder isolator

Table of Contents

Related product manuals