EasyManua.ls Logo

RiverRidge TWO DOOR SPACESAVER - Assembly Step 9; Assembly Step 10

RiverRidge TWO DOOR SPACESAVER
14 pages
Print Icon
To Next Page IconTo Next Page
To Next Page IconTo Next Page
To Previous Page IconTo Previous Page
To Previous Page IconTo Previous Page
Loading...
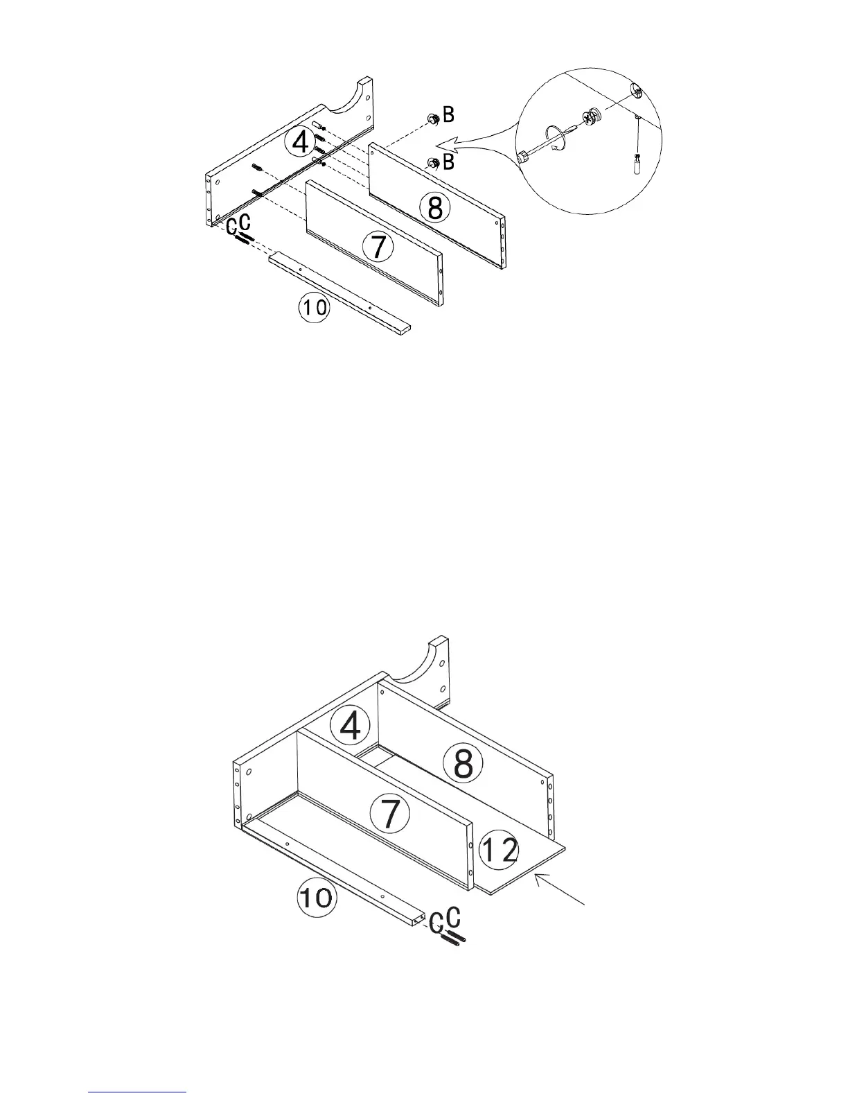
STEP 9
STEP 9
1.Attach the top shelf (7) and bottom shelf (8) to the top right side panel (4) by inserting cam
bolts
into cam lock holes and inserting wood dowels into dowel holes on the top shelf (7) and bottom
shelf (8).
2.Insert 2 cam locks (B) into cam lock holes on the bottom shelf (8) then rotateclockwise to secure
cam bolts in place by using a Philips screwdriver.
3.Attach the rear top cross bar(10)to the top right side panel (4)by inserting 2wood dowels (C)into
dowel holes on the rear top cross bar(10).
STEP 10
STEP 10
1.Slide in the small back panel (12) to the grooves on the top right side panel (4), top shelf (7) and
bottom shelf (8).
2.Insert2 wood dowels (c) into dowel holes on the end of rear top cross bar(10).

Related product manuals