EasyManua.ls Logo

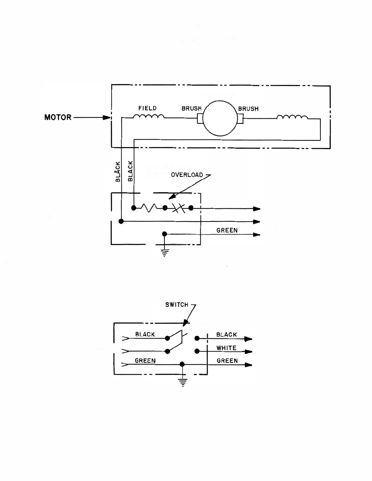
Rockwell DELTA - Wiring Diagram; Motor and Switch Circuitry

Rockwell DELTA
28 pages
Print Icon
To Next Page IconTo Next Page
To Next Page IconTo Next Page
To Previous Page IconTo Previous Page
To Previous Page IconTo Previous Page
Loading...

   
  


 
























 




 





























 
 
— 17 —

Related product manuals