EasyManua.ls Logo

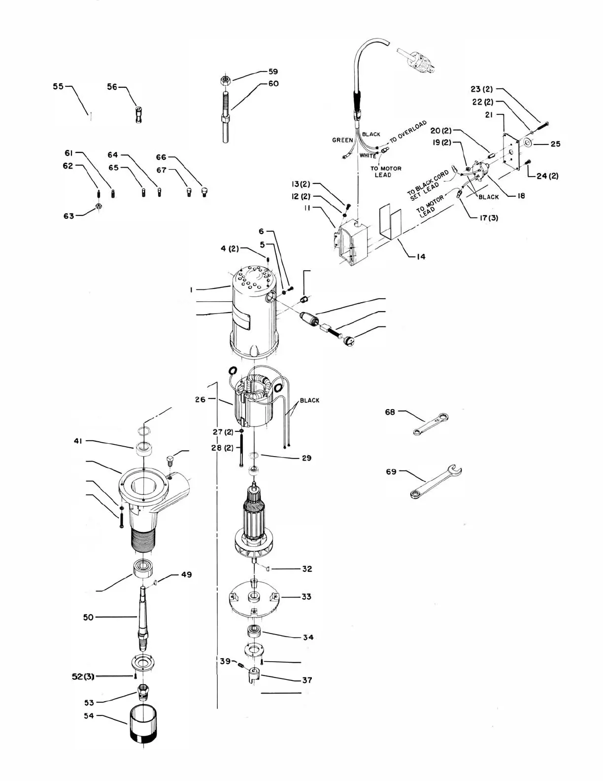
Rockwell DELTA - Motor and Spindle Assembly: Exploded View; Component Identification

Rockwell DELTA
28 pages
Print Icon
To Next Page IconTo Next Page
To Next Page IconTo Next Page
To Previous Page IconTo Previous Page
To Previous Page IconTo Previous Page
Loading...






























 








— 20 —

Related product manuals