EasyManua.ls Logo

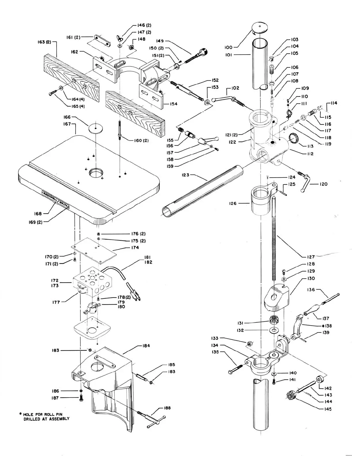
Rockwell DELTA - Table and Base Assembly: Exploded View; Component Identification

Rockwell DELTA
28 pages
Print Icon
To Next Page IconTo Next Page
To Next Page IconTo Next Page
To Previous Page IconTo Previous Page
To Previous Page IconTo Previous Page
Loading...
169(2)
/146(2)
161(2)--
~
. / r
I47
(2)
<:
~
~/
,148
1"9
162
~
~.",
'f
.
~
150
(2)
~
~
>
-I--~_
151(2)\
'\
~
.
/
~
166~
/
167l
:~~~~
~160(2)
·1
157~
158
~ffl
159
----76(2)
172
173--
1
"
"--,,
,
175 (2)
101--
121(2)
122
126-
.
I~;=t
133___
I
124)
,125
-120
v
~:~:
$ r
l30
/
136~
134~
~
I
135~
~~
.
~
~
. .
~
_/7
.
~
t-
140
.
~
.
183
-----:--
~184
HOLE
FOR
ROLL
PIN
DRILLED
AT
ASSEMBLY
~;~;~42
~~:~3
.
~144
145
— 22 —