EasyManua.ls Logo

Rodgers 835 - 835 User (Headphone) Menu Items

Default Icon
69 pages
Print Icon
To Next Page IconTo Next Page
To Next Page IconTo Next Page
To Previous Page IconTo Previous Page
To Previous Page IconTo Previous Page
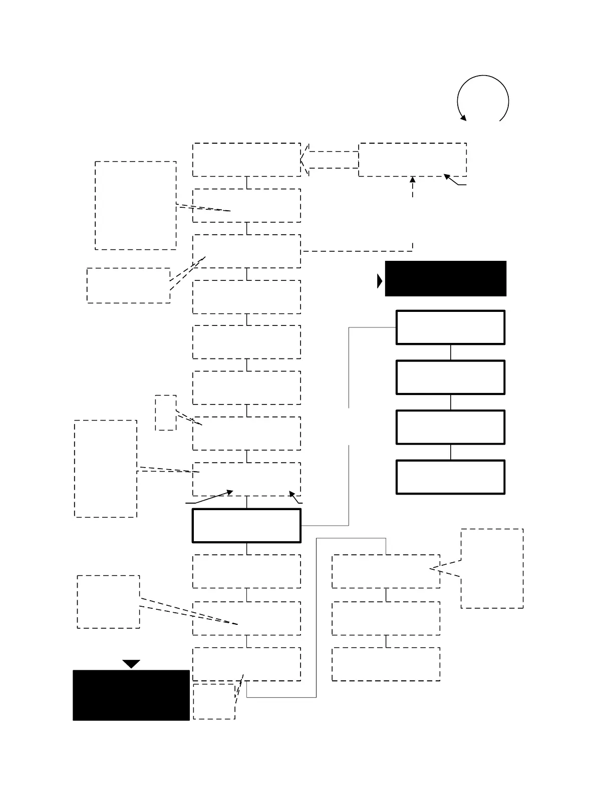
Loading...
9
TEMPERAMENT
²²²²
This menu item appears
when MASTER TUNING is
ADJUSTABLE.
MASTER TUNING
²²²²²²²²²²²²²
WIND STABILIZER
OFF, ½, ON
² ² ² ² ² ²
TREM
RATE:
²
DEPTH:
²
-9 thru 9
-9 thru 9
CONSOLE LAMPS
1 THRU 16
TRANSPOSER
²
TUNING A=
²²²
.
²
427.7 thru 453.0
(± ½ SEMITONE)
TRANSPOSER
4b thru 4#
835 User (Headphone) Menu Items
Hold SET, turn SELECT knob
counterclockwise.
LOCKED A=440
ADJUSTABLE
MANUAL ADJ ONLY
"VOICE PALETTE"
MENU
²²
MINIMUM EXPR:
PPPP, PPP, NORMAL
EQUAL
MEAN-TONE
PYTHAGOREAN
KIRNBERGER
WERCKMEISTER I
WERCKMEISTER
III
YOUNG I
YOUNG II
PD
GT
SW
GT MAIN
GT MAINVIB
GT SPARE
GT FLUTE
GT FLUTEVIB
SW MAIN
SW MAINVIB
SW SPARE
SW FLUTE
SW FLUTEVIB
HEADPHONE
²²²²²
² ² ² ²
dB
HEADPHONE VOLUME
OFF, -31.25 thru 6.25 d B
HEADPHONE BALANCE
-10.00 thru 10.00 d B
HEADPHONE TREBLE
-14.00 thru 14.00 d B
HEADPHONE BASS
-14.00 thru 14.00 d B
Headphones must be
plugged in for these menu
items to appear.
NOTE
This menu applies to 835
organs with serial
numbers ZJ30100 and
above
NOTE
Use the
ALPHA DIAL
to select these
menu items.
REVERB TYPE
REVERB TIME
LINE OUT GAIN
0 thru 18.75 d B
AUX INPUTS TO
ANTIPH CTLS OFF, ON
AUX
² ² ² ² ² ² ² ² ² ²
0.00 dB
MAIN VOLUME
MAIN
BALANCE
ANT VOLUME
ANT BALANCE
BASS
TREBLE
GAIN BOOST
REVERB VOLUME
OFF, -31.25 thru 6.25 dB
ROOM1
ROOM2
ROOM3
HALL1
HALL2
SHORT
NORMAL
LONG

Table of Contents

Related product manuals