EasyManua.ls Logo

Rogerblack Cross Trainer - Page 12

Rogerblack Cross Trainer
24 pages
Print Icon
To Next Page IconTo Next Page
To Next Page IconTo Next Page
To Previous Page IconTo Previous Page
To Previous Page IconTo Previous Page
Loading...
Assembly Instructions
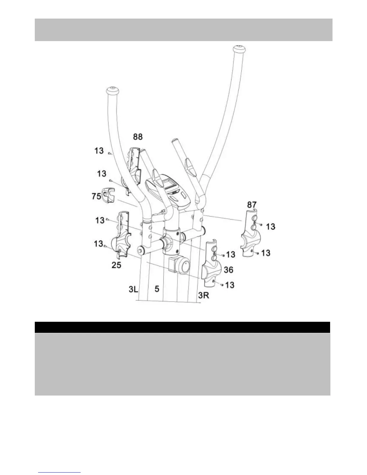
Step 6
a. Attach R/ Front Handrail Rail Cover (87) to the c. Repeat Step a & b to install the L/Front Handrail
Right Handrail Arm (3R) using 2 x Philips Cover (36) and L/ Rear Handrail Cover (25) to the
Screws (13). Left Handrail Arm (3L)
b. Attach R/ Rear Handrail Rail Cover (88) to the d. Attach the Handle Bar Cover (75) to the
Right Handrail Arm (3R) using 2 x Philips handle bar fixed bracket on the Front Post (5).
Screws (13).
11

Related product manuals