EasyManua.ls Logo

Roper F Series - F75 - F100 Spec 0 & Spec 17; F75 - F100 Spec 5 & Spec 174

Roper F Series
30 pages
Print Icon
To Next Page IconTo Next Page
To Next Page IconTo Next Page
To Previous Page IconTo Previous Page
To Previous Page IconTo Previous Page
Loading...
27
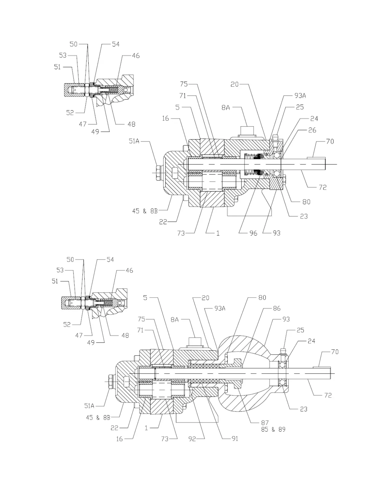
1 & 2 F75 – F100 SPEC 0 & SPEC 17
1 & 2 F75 – F100 SPEC 5 & SPEC 174

Related product manuals