EasyManua.ls Logo

Roper F Series - F150 - F300 Spec 17; F150 - F300 Spec 174

Roper F Series
30 pages
Print Icon
To Next Page IconTo Next Page
To Next Page IconTo Next Page
To Previous Page IconTo Previous Page
To Previous Page IconTo Previous Page
Loading...
28
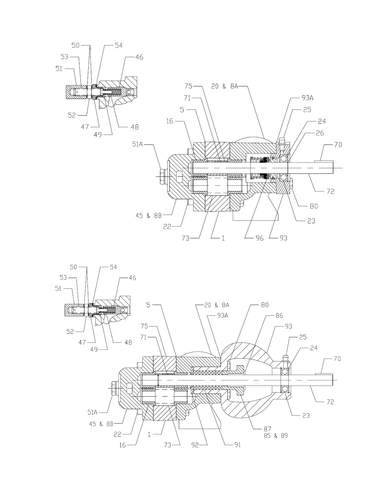
1 & 2 F150 – F300 SPEC 17
1 & 2 F150 – F300 SPEC 174

Related product manuals