EasyManua.ls Logo

Roper F Series - 18 F35 - F50 Spec 0; 18 F75 - F100 Spec 0

Roper F Series
30 pages
Print Icon
To Previous Page IconTo Previous Page
To Previous Page IconTo Previous Page
Loading...
30
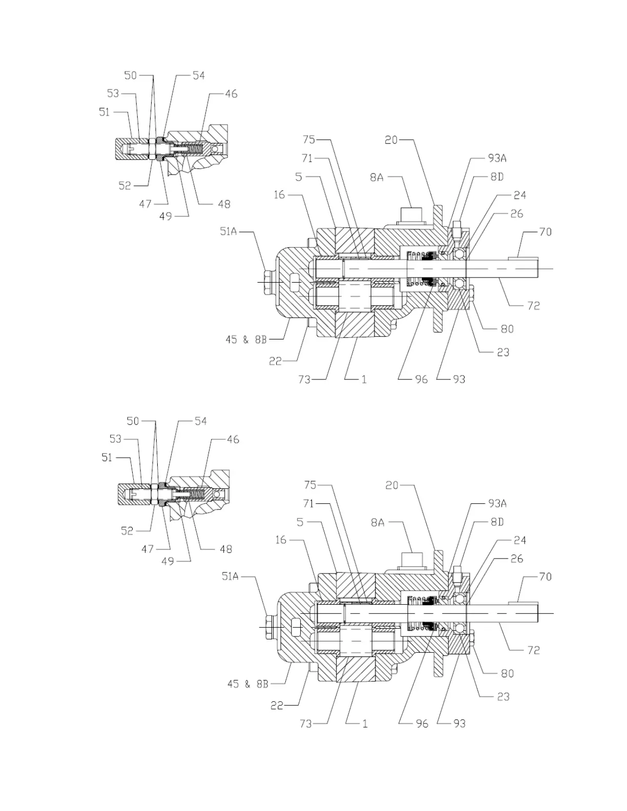
17 & 18 F35 – F50 SPEC 0
17 & 18 F75 – F100 SPEC 0

Related product manuals